
De Adv7401kstz-140 är en sofistikerad videokodare och RGB-grafik digitizer från analoga enheter, utformad för att hantera olika videoutformat inklusive PAL, NTSC och SECAM, och omvandla dem till ett digitalt ITU-R BT.656-format.Detta chip sticker ut för sin förmåga att avkoda komponent RGB/YPRPB -videosignaler och digitalisera RGB -grafik med upplösningar upp till 1280 × 1024 vid 75 Hz (SXGA).Det stärks av fyra 10-bitars ADC: er som arbetar med provtagningshastigheter upp till 140 MHz, vilket säkerställer videoproduktion av hög kvalitet för krävande applikationer.Familjen ADV7401 innehåller flera modeller som ADV7401BSTZ-110 respektive ADV7401BSTZ-80, som stöder lägre maximala ADC-provtagningshastigheter på 110 MHz respektive 80 MHz, vilket gör det möjligt att välja en modell som anpassar sig till deras specifika upplösning och prestandakrav.Denna flexibilitet gör ADV7401 -serien till ett främst val som kräver robusta videobearbetningsfunktioner.
Om du vill öka din produktuppställning med högpresterande videokodning rekommenderar vi starkt att du placerar en bulkorder hos oss för ADV7401KSTZ-140.

|
Pin No. |
Mnemonisk |
Typ |
Fungera |
|
5, 11, 17, 40, 89 |
Dgnd |
G |
Digital mark. |
|
49, 50, 66 |
Agnd |
G |
Analog mark. |
|
6, 18 |
Dvddio |
P |
Digital I/O -leveransspänning (3,3 V). |
|
12, 39, 90 |
Dvdd |
P |
Digital kärnförsörjningsspänning (1,8 V). |
|
63 |
Avdd |
P |
Analog matningsspänning (3,3 V). |
|
47, 48 |
Pvdd |
P |
PLL -tillförselspänning (1,8 V). |
|
51 |
Fb |
Jag |
Snabbomkopplare överläggningsingång.Denna stift växlar mellan CVBS
och RGB -analoga signaler. |
|
54, 56, 58, 72, 74, 76, 53, 55, 57, 71, 73, 75 |
Ain1 till Ain12 |
Jag |
Analoga inmatningskanaler för video. |
|
42, 41, 28, 27, 26, 25, 23, 22, 10, 9, 8, 7, 94, 93, 92,
91 |
P2 till P9, P12 till P19 |
O |
Video Pixel Output Port. |
|
33, 32, 31, 30, 29, 24, 14, 13 |
P22 till P29 |
I/O |
Videoingång/utgångsport. |
|
44, 43, 21, 20, 45, 34, 2, 1, 100, 97, 96, 95, 88, 87,
84, 83 |
P0 till P1, P10 till P11, P20 till P21, P31 till P40 |
Jag |
Video Pixel Input Port. |
|
3 |
Int |
O |
Avbryta.Denna stift kan vara aktiv låg eller aktiv hög.
När SDP/CP -statusbitar ändrar utlöser denna stift.Uppsättningen händelser som
utlöser ett avbrott är under användarkontroll. |
|
4 |
Hs/cs |
O |
HS är en horisontell synkroniseringsutgångssignal (SDP och
CP -lägen).CS är en digital sammansatt synkroniseringssignal (och kan vara
valt i CP -läge). |
|
99 |
MOT |
O |
Vertikal synkroniseringsutgångssignal (SDP och CP
lägen). |
|
98 |
Fält/de |
O |
Fältsynkroniseringsutgångssignal (all sammanflätad video
lägen).Denna stift kan också aktiveras som en dataaktiveringssignal (DE) i CP -läge
För att tillåta direktanslutning till en HDMI/DVI TX IC. |
|
81, 19 |
SDA1, SDA2 |
I/O |
I²C Port Serial Data Input/Output Pins.SDA1 är uppgifterna
Linje för kontrollporten och SDA2 är datalinjen för VBI Readback
hamn. |
|
82, 16 |
SCLK1, SCLK2 |
Jag |
I²C Port Serial Clock Input (max klockfrekvens på 400 kHz).
SCLK1 är klocklinjen för kontrollporten och SCLK2 är klocklinjen för
VBI Data Readback -porten. |
|
80 |
Alsb |
Jag |
Denna stift väljer I²C -adressen för ADV7401 -kontrollen
och VBI Readback -portar.ALSB inställd på logik 0 ställer in adressen för en skrivning till
Kontrollport av 0x40 och återkopplingsadressen för VBI -porten på 0x21.Alsb
Ställ in på en logik hög ställer in adressen för en skrivning till kontrollporten på 0x42 och
Återställningsadressen för VBI -porten i 0x23. |
|
78 |
ÅTERSTÄLLA |
Jag |
Systemåterställning ingång, aktiv låg.En minsta låg återställningspuls
Bredden på 5 ms krävs för att återställa ADV7401 -kretsarna. |
|
36 |
Llc1 |
O |
LLC1 är en linjelåst utgångsklocka för pixeldata
(intervallet är 12,825 MHz till 140 MHz för ADV7401KSTZ-140; 12,825 MHz till 110 MHz
för ADV7401BSTZ-110;12.825 MHz till 80 MHz för ADV7401BSTZ-80). |
|
38 |
Xtal |
Jag |
Ingångsstift till 28.63636 MHz -kristallen, eller kan vara
Överdriven av en extern 3,3 V 28.63636 MHz klockoscillatorkälla att klocka
ADV7401. |
|
37 |
Xtal1 |
O |
Denna stift ansluts till 28.63636 MHz -kristallen eller tillåter
Användning av en anslutning till en 3,3 V 28.63636 MHz klockoscillator för att användas som en
Klocka för ADV7401.I kristallläge måste kristallen vara ett grundläggande. |
|
46 |
Elpf |
O |
Det rekommenderade externa slingfiltret måste vara anslutet till
Denna ELPF -stift. |
|
70 |
Test0 |
Nc |
Denna stift ska lämnas utan anslutning eller alternativt bunden
till AGND. |
|
59 |
Test1 |
O |
Denna stift ska lämnas oansluten. |
|
15 |
Sfl/sync_out |
O |
Underbärarfrekvenslås (SFL).Denna stift innehåller en
Seriell utgångsström som kan användas för att låsa underbärarens frekvens när
Denna avkodare är ansluten till alla analoga enheter digital videokodare.
SYNC_OUT är den skivade synkroniseringssignalen endast tillgänglig i CP -läge. |
|
64 |
Återta |
O |
Intern spänningsreferensutgång. |
|
65 |
Cml |
O |
Common-Mode-nivån (CML) för de interna ADC: erna. |
|
61, 62 |
Capy1, capy2 |
Jag |
ADC -kondensatornätverk. |
|
68, 69 |
Capc1, capc2 |
Jag |
ADC -kondensatornätverk. |
|
67 |
Förspänning |
O |
Extern förspänningsinställningsstift.Anslut de rekommenderade
Motstånd (1,35 kΩ) mellan stift och mark. |
|
86 |
Hs_in/cs_in |
Jag |
Kan konfigureras i CP -läge för att vara antingen en digital HS
Ingångssignal eller en digital CS-insignal som används för att extrahera tidpunkten i en 5-tråd
eller 4-tråds RGB-läge. |
|
85 |
Vs_in |
Jag |
Vs ingångssignal.Används i CP-läge för 5-tråds tidsläge. |
|
79 |
De_in |
Jag |
Data Aktivera inmatningssignal.Används i 24-bitars digital ingång
Portläge (till exempel bearbetning av 24-bitars RGB-data från en DVI RX IC). |
|
35 |
Dclk_in |
Jag |
Klockingångssignal.Används i 24-bitars digitalt ingångsläge
(till exempel bearbetning av 24-bitars RGB-data från en DVI RX IC) och även i
Digital CVBS -ingångsläge. |
|
52 |
Sog |
Jag |
Synkronisera på grön ingång.Används i inbäddat synkroniseringsläge. |
|
77 |
Sojaso |
Jag |
Synkronisera på Luma -ingången.Används i inbäddat synkroniseringsläge. |
• Höghastighetsanalog-till-digital konvertering: ADV7401KSTZ-140 är utrustad med fyra 10-bitars analoga till digitala omvandlare (ADC) som kan fungera med provtagningshastigheter upp till 140 MHz.Denna kapacitet tillåter den att digitalisera högupplösta videosignaler effektivt, vilket gör den lämplig för avancerade videobehandlingsapplikationer.
• Mångsidig analog ingångsmultiplexer: Den här enheten har en 12-kanals analog ingångsmultiplexer som inkluderar SCART FAST TIMT Support.Denna funktionalitet gör det möjligt att växla mellan olika analoga videokällor sömlöst och tillgodoser olika ingångskrav för videosystem.
• Omfattande videostandardstöd: ADV7401KSTZ-140 stöder ett brett utbud av videorfärgstandarder, inklusive NTSC, PAL och SECAM.Det kan också bearbeta komponentvideoformat som 525p, 625p, 720p och 1080i, vilket säkerställer kompatibilitet med olika globala videoutformat och resolutioner.
• Grafisk digitalisering: Kapabel att digitalisera RGB-grafik upp till upplösningar på 1280 × 1024 vid 75 Hz (SXGA), är ADV7401KSTZ-140 idealisk för applikationer som kräver grafikbearbetning med hög upplösning, till exempel avancerade övervakningssystem och digitala skyltar.
• Avancerad färgutrymmeomvandling: Enheten innehåller en 3 × 3 färgutrymmematris som underlättar flexibel omvandling mellan olika färgutrymmen, såsom YCRCB till RGB och vice versa.Denna funktion är utmärkt för att upprätthålla färgnoggrannhet och kvalitet i multimediaapplikationer.
• Digital ingångsport: ADV7401KSTZ-140 innehåller en 24-bitars digital ingångsport som stöder data från DVI/HDMI-mottagarens ICS.Denna funktion förbättrar chipets kompatibilitet med moderna digitala videokällor, vilket gör att den kan integreras i ett brett utbud av digitala multimediasystem.
• Programmerbara utgångsgränssnitt : Det erbjuder ett programmerbart utgångsgränssnitt som kan ställas in på 12-bitars 4: 4: 4 eller 8-bitars 4: 2: 2 dubbel datahastighet (DDR) pixelutgångsformat.Denna flexibilitet säkerställer att utgången kan skräddarsys för att tillgodose specifika applikationsbehov, vare sig det är för sändningsutrustning eller elektronik.

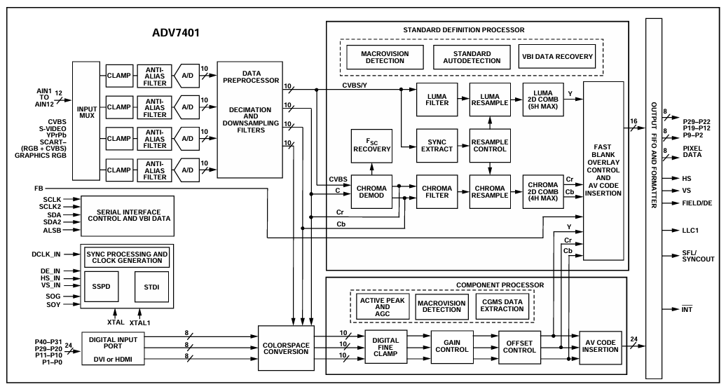
Diagrammet för Adv7401kstz-140 illustrerar de interna funktionella blocken för denna avancerade videokodare och digitizer, och belyser hur den bearbetar olika analoga videosignaler till digital utgång.Chipet stöder flera inmatningsformat som Cvbs, S-video, Ypbproch RGBalla dirigerade genom ingången MUX som väljer bland de 12 analoga ingångarna (Ain1 till Ain12).Varje vald signal passerar genom en Klämma och Anti-aliasfilter För att förbereda signalen för digitalisering med en av de integrerade 10-bitars analoga till digitala omvandlarna (A/D).
När det är digitaliserat behandlas signaler i Dataprocessor, som inkluderar Decimering och Nedsamplingsfilter För att minska datahastigheter och förbereda signaler för ytterligare digital bearbetning.Beroende på typ av inmatning kan videon behandlas antingen genom Standarddefinitionsprocessor eller Komponentprocessor.De SD Processor Handlar komposit- och S-VIDEO-signaler, utför uppgifter som Kromdemodulering, Luma och kromfiltrering, Kamfiltreringoch Omformning, säkerställa tydlig separering av luminans- och krominanskomponenter.Det innehåller också funktioner som Upptäckt av makrovision och VBI Data Recovery.
För komponentvideo, Komponentprocessor ansvarar för verksamheten som Vinstkontroll, Förskjutningskorrigeringoch Aktivt topp och Agc justeringar.Det inkluderar Cgms och Makrovision Datedetektering för efterlevnad av kopieringsskydd.Dessutom finns det Colorspace Conversion att anpassa Ycbcr eller RGB signaler till önskat utgångsformat.Alla bearbetade signaler konvergerar i Utgång FIFO och Formatterare, där de är inriktade, formaterade och synkroniserade innan de matas ut som digital pixeldata tillsammans med synkroniseringssignaler som Hs, MOT, Fält/deoch andra.Diagrammet visar också stöd för Dvi eller Hdmi ingång via en 8-bitars digital port och inbäddad Serie Gränssnittskontroll För kommunikation och konfiguration.
|
Typ |
Parameter |
|
Tillverkare |
Analog Devices Inc. |
|
Förpackning |
Bricka |
|
Delstatus |
Aktiv |
|
Fungera |
Avkodare, digitizer |
|
Ansökningar |
Konsumentvideo |
|
Standarder |
ITU-R BT.656, NTSC, PAL, SECAM |
|
Gränssnitt |
Serie |
|
Spänning - försörjning |
1,65V ~ 3,6V |
|
Monteringstyp |
Ytfäste |
|
Förpackning / fodral |
100-lqfp |
|
Leverantörspaket |
100-LQFP (14x14) |
|
Basproduktnummer |
Adv7401 |
High-Definition Television (HDTVS)
ADV7401KSTZ-140 används i olika typer av HDTV: er, inklusive LCD, DLP ™, Plasma och CRT-modeller, för att avkoda och bearbeta ett brett utbud av videosignaler.Dess förmåga att hantera flera sändningsstandarder och format gör det till en viktig komponent för att säkerställa bred kompatibilitet och högkvalitativ videoproduktion inom TV-teknik.
Projektorer
Den här videokodaren är integrerad i både LCD- och DLP -projektorer, där den förbättrar funktioner för videobearbetning.Det gör det möjligt för projektorer att exakt göra innehåll med hög upplösning, vilket gör det idealiskt för både hemmabiouppsättningar och professionella presentationsmiljöer.
Set-Top Boxes (STBS) med Personal Video Recorder (PVR)
I set-top-lådor underlättar ADV7401KSTZ-140 avkodningen av olika videoformat för att se och spela in innehåll från olika källor.Den här funktionen stöder funktionaliteten hos personliga videoinspelare, flexibla visnings- och inspelningsalternativ.
Audio-Video-mottagare (AVR)
Chipet förbättrar ljudvideo-mottagare genom att integrera robusta videoavkodningsfunktioner med ljudhantering.Denna integration är bra för AVR: er som används i hemunderhållningssystem, vilket ger en sömlös ljud- och videoupplevelse i en enda enhet.
Multiformat Scan Converters
ADV7401KSTZ-140 används i multiformatskanningskonverterare för att hjälpa till att konvertera videosignaler mellan olika format och upplösningar.Denna applikation är utmärkt för att säkerställa kompatibilitet och upprätthålla videokvalitet över olika displayteknologier och standarder.
DVD -inspelare med progressivt skanningsinmatningsstöd
Hos DVD-inspelare spelar ADV7401KSTZ-140 en roll genom att avkoda och digitalisera inkommande videosignaler, och stödja progressiva skanningsingångar.Denna kapacitet gör det möjligt för DVD-inspelare att fånga och lagra videoinnehåll av hög kvalitet, vilket förbättrar den totala inspelningskvaliteten.
1. Välj lämpligt primärläge (prim_mode) och videorandard (vid_std): Det primära läget och Video Standard-valet är viktigt eftersom det avgör hur ADV7401KSTZ-140 tolkar den inkommande videosignalen.Prim_Mode -registeret identifierar det primära formatet för videomatiden (t.ex. NTSC, PAL), medan vid_std -registret anger standarddetaljerna (t.ex. 525i, 625i).Att ställa in dessa register korrekt säkerställer att videokodaren kan hantera de specifika attributen för insignalen, såsom bildhastighet och upplösning.
2. Konfigurera spärrklockan (latch_clk): Inställningen för spärrklockan är viktig för att synkronisera behandlingen av videodata.Genom att programmera Latch_Clk -registeret justerar du tidpunkten för datavisen så att den matchar pixelklockfrekvensen för ingångsvideoen.Detta steg är viktigt för att säkerställa att videokodaren korrekt fångar och bearbetar varje pixel vid rätt tidpunkt och undviker tidsfrågor eller datakorruption.
3. Ställ in PLL -avdelningsförhållandet: Detta steg involverar manuellt inställning av PLL (faslåsta sling) avdelningsförhållandet för att generera rätt pixelklockutgång från en given ingångsfrekvens.Genom att aktivera manuell styrning (PLL_DIV_MAN_EN) och programmering av PLL_DIV_RATIO kan du finjustera utgångspixelklockan så att de matchar de specifika behoven för ditt display eller ytterligare processsystem.Denna exakta kontroll är bra för att upprätthålla signalintegritet och synkronisering över din videobearbetningskedja.
4. Konfigurera VCO Range och PLL -laddningspumpinställningar: Att ställa in VCO (spänningsstyrd oscillator) och justera PLL-laddningspumpen är viktiga för att stabilisera frekvensen för den genererade pixelklockan.VCO_RANGE och PLL_QPUMP -register låter dig optimera PLL: s prestanda under olika driftsförhållanden, vilket säkerställer att utgångsklockan förblir stabil och inom de nödvändiga specifikationerna för tillförlitlig videodekodning.
5. Ställ in den fria run linjelängden (FR_LL): I situationer där videoinmatning går förlorade eller avbrutna hjälper den fria run-linjelängden att upprätthålla en konsekvent utgång genom att specificera linjelängden i fritt körläge.Genom att beräkna och ställa in FR_LL-registret baserat på den förväntade radperioden kan ADV7401KSTZ-140 fortsätta att mata ut videoramar med korrekt timing, vilket är bra för applikationer som kräver en konstant video närvaro.
Mångsidig formatkompatibilitet
ADV7401KSTZ-140 sticker ut för sin förmåga att stödja ett brett utbud av videostandarder inklusive NTSC, PAL, SECAM och High-Definition-format som 720p och 1080i.Den kan hantera RGB -grafik upp till SXGA -upplösning.Denna breda kompatibilitet gör det möjligt att använda chipet i olika applikationer utan att oroa sig för formatbegränsningar.
Högkvalitativ videobearbetning
Adv7401KSTZ-140 är utrustad med fyra 10-bitars ADC som kan prova upp till 140 MHz och säkerställer högkvalitativ videobehandling.Denna kapacitet gör det möjligt att fånga och konvertera videosignaler med förbättrad tydlighet och färgnoggrannhet, vilket ger överlägsen videoreproduktion.Detta är fördelaktigt i applikationer där videokvalitet är viktigt, till exempel inom medicinsk avbildning, högupplöst sändning och säkerhetsövervakningssystem.
Förenklad systemdesign
Genom att integrera både videoavkodning och RGB-grafik-digitaliseringsfunktioner i ett enda chip, förenklar ADV7401KSTZ-140 den övergripande systemdesignen.Denna integration minskar antalet komponenter som krävs i designfasen, vilket leder till kostnadsbesparingar i termer av både material och montering.Det förbättrar också systemets tillförlitlighet på grund av färre sammankopplingar och potentiella felpunkter, vilket gör det till en effektiv lösning för komplexa multimediasystem.
Flexibla utgångsalternativ
Enheten erbjuder flexibla utgångsgränssnitt, som kan stödja både 12-bitars 4: 4: 4 och 8-bitars 4: 2: 2 dubbel datahastighet (DDR) pixelformat.Denna flexibilitet gör det möjligt att anpassa utgångsformatet baserat på deras specifika applikationskrav, oavsett om de behöver hög färg trohet för digital skyltning eller optimerade pixelformat för videobesgränssnitt.Denna anpassningsförmåga säkerställer att ADV7401KSTZ-140 kan användas effektivt över olika slutanvändningar.
Pålitlig prestanda under olika förhållanden
Adv7401KSTZ-140 är utformad för att arbeta inom ett industriellt temperaturområde av -40 ° C till +85 ° C.Denna robusthet gör den lämplig för användning i utomhusapplikationer, industriella inställningar och andra scenarier där temperaturfluktuationer är ett problem.Du kan lita på enheten för att upprätthålla konsekvent prestanda, oavsett de termiska utmaningar som kan uppstå i operativa miljöer.
|
Parameter |
Dimension (mm) |
|
Kroppsstorlek (typisk) |
14,00 × 14,00 |
|
Kroppsstorlek (min - max) |
13.80 - 14.20 |
|
Totalt ledare (min - max) |
15.80 - 16.20 |
|
Pakethöjd (maximalt) |
1.6 |
|
Kroppshöjd (min - max) |
1.35 - 1.45 |
|
Leadbredd (min - max) |
0,17 - 0,27 |
|
Lead Pitch (grundläggande avstånd) |
0,5 |
|
Blyavståndshöjd |
0,05 - 0,15 |
|
Blyvinkelområde |
0 ° - 7 ° |
|
Bly coplanarity (maximalt) |
0,08 |

ADV7401KSTZ-140 är en sofistikerad multiformatvideekodare och grafik digitizer som tillverkas av Analog Devices Inc., en känd ledare inom halvledarindustrin.Analog enheter, som är känd för sin innovation och tillförlitlighet, är specialiserat på utveckling och produktion av ett brett utbud av integrerade kretsar för signalbehandlingsapplikationer.Företagets expertis säkerställer att ADV7401KSTZ-140 kan leverera högpresterande videodekodning, vilket stöder en mängd olika videoformat och standarder för multimediaapplikationer.
ADV7401KSTZ-140 sticker ut som en robust och flexibel lösning för att kräva videosignalbehandlingsuppgifter.Med stöd för flera globala videostandarder, högupplösta RGB-digitalisering, programmerbara utgångsformat och drift över industriketsområden ger den tillförlitlighet och prestanda i både konsument- och professionella miljöer.Oavsett om det är att förbättra multimediasystem, förenkla designarkitektur eller säkerställa kompatibilitet i olika format, erbjuder denna avkodare/digitizer fördelar.ADV7401KSTZ-140 förblir en mångsidig och framtida komponent för integrerade videoprogram.
Skicka en förfrågan, vi svarar omedelbart.
ADV7401KSTZ-140 skiljer sig ut med sin kombination av 4 höghastighets-10-bitars ADC: er som arbetar med upp till 140 MHz, stöd för SXGA-upplösningar och dess förmåga att bearbeta både video- och RGB-grafiksignaler.Den integrerar också avancerad konvertering av färgutrymme, detektering av makrovision och flexibla utgångsgränssnitt, vilket gör det idealiskt för applikationer som behöver både kvalitet och anpassningsförmåga.
Inte direkt.ADV7401KSTZ-140 har inte en inbyggd HDMI-mottagare, men den kan acceptera digitala ingångar via sin 24-bitars digitala ingångsport från en extern HDMI- eller DVI-mottagare IC, till exempel de analoga enheterna Adv7611.Detta gör att du kan överbrygga HDMI -källor i ditt system med hjälp av detta chip effektivt.
Inget ytterligare minne krävs för grundläggande avkodningsuppgifter, men beroende på din systemarkitektur kan en mikrokontroller eller värdprocessor behövas för att konfigurera chipet via I²C och hantera bearbetade videodata.I avancerade system är det ofta parat med FPGA eller DSPS för ytterligare bearbetning.
Medan det exakta värdet beror på din konfiguration och användning av ADC: er och utgångsportar, varierar den typiska effektavledningen mellan 0,8 W och 1,2 W under full belastning.Se alltid till riktlinjerna för datablad och termiska design för att säkerställa korrekt värmeavledning.
Ja.ADV7401KSTZ-140 stöder automatisk videodetektering över NTSC-, PAL- och SECAM-ingångar.Genom att använda sina auto-detektionsregister kan ditt system dynamiskt växla mellan format utan användarintervention, idealisk för multiformatmiljöer.
på 2025/04/3
på 2025/04/3
på 8000/04/18 147764
på 2000/04/18 111989
på 1600/04/18 111351
på 0400/04/18 83751
på 1970/01/1 79546
på 1970/01/1 66949
på 1970/01/1 63094
på 1970/01/1 63028
på 1970/01/1 54092
på 1970/01/1 52172