
De 2N3906 är en vanligt använt PNP-transistor som fungerar bra i lågeffektförstärkning och växlingsuppgifter.Den är utformad för att hantera måttliga spänningsnivåer och små strömmar och fungerar genom att växla upp samlaren och emitterkorsningarna mellan öppna och stängda tillstånd beroende på basstiftets spänning.När basstiftet är jordat är transistorn i ett framåtriktat tillstånd, vilket gör att strömmen kan flyta från emitteren till samlaren.När en signal appliceras på basen går den in i ett omvänt partiskt tillstånd och stoppar strömflödet.
Med ett förstärkningsvärde mellan 110 och 300 kan denna transistor effektivt förstärka små signaler.Den har emellertid en aktuell gräns för sin samlare, så den är bäst lämpad för applikationer där det nuvarande kravet förblir under 200ma.2N3906 har två huvudsakliga operativa tillstånd: mättnad, där transistorn är helt på, vilket möjliggör maximal strömflöde och avgränsning, där det är helt av utan ström mellan emitter och samlare.Dessa egenskaper gör det mångsidigt för många allmänna applikationer, vare sig det är i grundläggande förstärkare eller enkla switchkretsar.

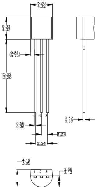
| Stiftnummer | Stiftnamn | Beskrivning |
| 1 | Sändas | Aktuellt avlopp ut genom emitter |
| 2 | Bas | Kontrollerar förspänningen av transistorn |
| 3 | Samlare | Ström flyter in genom samlaren |



2N3906 är en PNP -transistor, vilket innebär att den leder ström när dess bas är vid en lägre spänning än emitteren.Denna design gör det möjligt att kontrollera strömflödet effektivt i lågeffektkretsar där denna typ av polaritet behövs.
Med en likströmsförstärkning (HFE) på upp till 300 kan 2N3906 förstärka små basströmmar för att producera större samlarströmmar.Denna funktion gör det till ett bra val för applikationer som kräver måttlig signalförstärkning.
Transistor kan hantera en kontinuerlig samlarström på 200 mA.Denna kapacitet gör det möjligt för den att styra enheter med låg effekt utan att överhettas eller behöver ytterligare kylningsåtgärder, förutsatt att strömmen förblir inom sitt säkra intervall.
En emitter-basspänning (VBE) på 5V innebär att 2N3906 kan hantera kretsar med ett rimligt spänningsområde, vilket gör den lämplig för typiska lågspänningsapplikationer utan att kräva komplexa justeringar.
2N3906 finns i ett TO-92-paket, vilket är litet och bekvämt för användning på brödbrädor och i kompakta kretsar.Detta gör det enkelt att integrera i projekt där utrymmet är begränsat.
Tekniska specifikationer, funktioner, egenskaper och komponenter med jämförbara specifikationer för på halvledare 2N3906BU.
| Typ | Parameter |
| Livscykelstatus | Aktiv (senast uppdaterad: 2 dagar sedan) |
| Fabriksledning | 6 veckor |
| Montera | Genom hålet |
| Monteringstyp | Genom hålet |
| Förpackning / fodral | TO-226-3, TO-92-3 (TO-226AA) |
| Antal stift | 3 |
| Vikt | 179 mg |
| Transistorelementmaterial | KISEL |
| Spänning i samlaremitterande | 40V |
| Antal element | 1 |
| hfemin | 100 |
| Driftstemperatur | -55 ° C ~ 150 ° C TJ |
| Förpackning | Bulk |
| Publicerad | 2007 |
| JESD-609 kod | e3 |
| Pbfree -kod | ja |
| Delstatus | Aktiv |
| Fuktkänslighetsnivå (MSL) | 1 (obegränsad) |
| Antal avslutningar | 3 |
| ECCN -kod | Örat99 |
| Terminal | Tenn (sn) |
| Spännings - klassad DC | -40V |
| Max Power Dispipation | 625MW |
| Terminalposition | BOTTEN |
| Aktuellt betyg | -200 mA |
| Frekvens | 250MHz |
| Basdelnummer | 2N3906 |
| Elementkonfiguration | Enda |
| Kraftavbrott | 625MW |
| Transistorapplikation | VÄXLANDE |
| Få bandbreddprodukt | 250MHz |
| Polaritet/kanaltyp | Pnp |
| Transistortyp | Pnp |
| Collector Emitter Spoltage (VCEO) | 40V |
| Max Collector Current | 200 mA |
| DC Current Gain (HFE) (min) @ IC, VCE | 100 @ 10mA 1V |
| Vce mättnad (max) @ ib, ic | 400mv @ 5mA, 50MA |
| Övergångsfrekvens | 250MHz |
| Collector Base Voltage (VCBO) | -40V |
| Emitter basspänning (VEBO) | -5V |
| Slå på Time-Max (ton) | 70ns |
| Höjd | 5,33 mm |
| Längd | 5.2 mm |
| Bredd | 4,19 mm |
| Nå SVHC | Ingen SVHC |
| Strålning härdning | Inga |
| ROHS -status | ROHS3 -kompatibel |
| Blyfri | Blyfri |


| Modellnummer | Tillverkare | Beskrivning |
| 2N3906D26Z | Fairchild Semiconductor Corporation | Small Signal Bipolar Transistor, 0.2A I (C), 40V V (BR) VD, 1-element, PNP, Silicon, TO-92 |
| 2N3906D27Z | Fairchild Semiconductor Corporation | Small Signal Bipolar Transistor, 0.2A I (C), 40V V (BR) VD, 1-element, PNP, Silicon, TO-92 |
| 2n3906rlrmg | På halvledare | Liten signal PNP Bipolär transistor, TO-92 40 V, 0,2 A, TO-92 (TO-226) 5.33mm kroppshöjd, 2000-FNFLD |
| 2n3906rlra | Motorola halvledarprodukter | Small Signal Bipolar Transistor, 0.2A I (C), 40V V (BR) VD, 1-element, PNP, Silicon, TO-92 |
| 2N3906AMO | NXP Semiconductors | Transistor 200 MA, 40 V, PNP, SI, Small Signal Transistor, TO-92, Bip Allmänt Syfte Small Signal |
| 2N3906RLRPG | Rochester Electronics LLC | 200mA, 40V, PNP, SI, Small Signal Transistor, TO-92, Fall 29-11, TO-226, 3 Pin |
| 2N3906G | Mikro kommersiella komponenter | Small Signal Bipolar Transistor, 0.2A I (C), 40V V (BR) VD, 1-element, PNP, Silicon, TO-92, Plastic Package-3 |
| 2n3906ta | På halvledare | 200 Ma, 40 V PNP Small Signal Bipolar Junction Transistor, 2000-FNFLD |
| 2N3906Stob | Zetex / Diodes Inc | Small Signal Bipolar Transistor, 0.2A I (C), 40V V (BR) VD, 1-element, PNP, Silicon, TO-92 Style, E-Line Package-3 |
• BC157
• BC558
• 2SA1943
• BD140
• S8550
• Tip127
• Tip42
I en grundläggande PNP -krets med 2N3906 fungerar transistorn vanligtvis som antingen en switch eller en förstärkare.För att fungera som en switch är emitteren ansluten till en positiv spänningskälla, till exempel +3V, medan en tryckknappsbrytare placeras vid basen.Med knappen otryckt flödar ingen ström till basen och håller transistorn i ett "ON" -tillstånd som standard.Denna konfiguration gör det möjligt för ström att flyta till samlaren och driva alla anslutna komponenter, till exempel en LED.
När knappen trycks in blir spänningen vid basen större än den vid emitteren, som blockerar strömflödet mellan emitter och samlare, vilket effektivt stänger av alla anslutna komponenter.Denna inställning visar kärnprincipen för en PNP -transistor: den förblir i ett "på" tillstånd så länge basspänningen är lägre än emitteren.När basspänningen överskrider emitteren blockerar den strömflödet och avbryter därmed kretsen "av."

2N3906 är allmänt tillämplig för omkopplings- och amplifieringsuppgifter.Dess struktur gör den idealisk för att byta högspänning, lågströmbelastningar, särskilt när man arbetar inom sin 200MA-strömgräns.Det kan användas i kretsar där konsekvent, lågnivåförstärkning behövs, även om dess förstärkningsgräns innebär att den inte är lämpad för kraftig förstärkning.På grund av dess PNP-natur väljs den ofta när omvändpolaritetskonfigurationer krävs, vilket gör det mångsidigt för olika lågeffektapplikationer, inklusive signalstyrning, LED-kretsar och lågströmsmotorförare.
Att använda 2N3906 som en switch är enkelt.I en standard PNP -konfiguration är transistorn vanligtvis "på" när basstiftet är jordat.Denna standard "på" tillstånd tillåter ström att flyta från emitteren till samlaren.För att stänga av omkopplaren "appliceras en spänningskälla på basstiftet, vilket förhindrar att strömmen flyter mellan emitteren och samlaren.Denna design hjälper till att kontrollera små belastningar utan att kräva komplexa installationer.
För att skydda transistorn i switchläge är det vanligt att placera ett motstånd mellan basen och den styrande ingången, beräknat med formeln RB = VBE / IB.Detta motstånd säkerställer att strömmen som strömmar till basstiftet förblir inom säkra gränser, vilket förhindrar eventuella skador på transistorn.När det är konfigurerat med detta motstånd kan 2N3906 på ett tillförlitligt sätt styra ett intervall av lågströmsanordningar, såsom små motorer eller lysdioder.

Delarna till höger har specifikationer som liknar halvledaren 2N3906BU.
| Tillverkare | 2N3906BU | 2n3906ta | 2N3906TFR |
| På halvledare | Genom hålet | Genom hålet | Genom hålet |
| Förpackning / fodral | TO-226-3, TO-92-3 | TO-226-3, TO-92-3 (TO-226AA) | TO-226-3, TO-92-3 (TO-226AA) |
| Collector Emitter B. | 40 v | 40 v | 40 v |
| Max Collector Curr. | 200 ma | 200 ma | 200 ma |
| Övergångsfrekvens | 250 MHz | 250 MHz | 250 MHz |
| Collector Emitter S. | -400 mV | -400 mV | -250 mV |
| hfe min | 100 | 100 | 100 |
| Max Power Dissipa. | 625 MW | 625 MW | 625 MW |
2N3906 används vanligtvis för att växla lågström, högspänningsbelastningar.Det är idealiskt för kretsar där du behöver en pålitlig switch som inte drar mycket kraft, till exempel LED -matriser eller enkla reläskontroller.
Dess måttliga förstärkning gör det möjligt att förstärka signaler i ljudkretsar med låg effekt och andra små amplifieringsinställningar.Även om det inte är lämpligt för högeffektsamförstärkning, är det en bra passform för mindre, konsekventa signalökningar.
PNP -designen gör 2N3906 användbar i inverterare och omvandlarkretsar, särskilt när ströminriktningskontrollen behövs.Det kan ställas in för att växla strömmar, stödja konverteringsfunktioner i enkla krafthanteringsdesign.
Transistoren kan också användas i kretsar som är utformade för att blixta lysdioder eller lampor.Genom att kontrollera strömflödet baserat på insignalen skapar det en enkel blixteffekt, användbar i indikatorljus eller varningssignaler.
För applikationer som behöver högre vinst kan 2N3906 paras med en annan transistor i en Darlington -konfiguration.Denna installation förstärker strömmen ytterligare, vilket gör det möjligt att driva något större belastningar samtidigt som man bibehåller god prestanda.



På halvledare fokuserar en allmänt respekterad tillverkare på att tillhandahålla effektiva kraft- och signalhanteringslösningar.Deras produkter, inklusive 2N3906, är utformade för att tillgodose behoven hos ett brett utbud av applikationer, från fordon och kommunikation till dator, konsumentelektronik och industriella system.Känd för sin innovation och engagemang för kvalitet, på halvledare erbjuder tillförlitliga komponenter som används av ingenjörer och designers över hela världen för att skapa effektiva, hållbara lösningar.Deras fokus på krafteffektivitet hjälper till att stödja miljövänliga och energibesparande projekt i flera branscher.
Skicka en förfrågan, vi svarar omedelbart.
2N3906BU -transistorn har 3 stift, som är emitter, bas och samlare.
2N3906BU fungerar inom ett temperaturintervall från -55 ° C till 150 ° C, som stöder användning under olika förhållanden.
2N3906 är en PNP -bipolär korsningstransistor, vilket betyder att den tillåter Strömflödet när basen är vid en lägre spänning än emitteren.
2N3906 fungerar med måttligt höga hastigheter, vilket gör den lämplig för snabba växlingsuppgifter i kretsar.
2N3906 -transistorn används vanligtvis som en switch eller en förstärkare, beroende på kretskonfigurationen.
2N3906 har en hög samlar-till-emitterspänning, vilket gör att den kan hantera högre spänningar i applikationer med låg ström.
VBE för 2N3906 är 5V, som definierar den spänning som behövs för att aktivera basen och tillåta strömflöde.
2N3906 verkar i två huvudregioner: mättnadsregionen, var Den är helt på och avgränsningsregionen, där den är helt av.
på 2024/11/14
på 2024/11/14
på 8000/04/18 147757
på 2000/04/18 111934
på 1600/04/18 111349
på 0400/04/18 83719
på 1970/01/1 79508
på 1970/01/1 66898
på 1970/01/1 63010
på 1970/01/1 63007
på 1970/01/1 54081
på 1970/01/1 52118