
De LM7809 är en pålitlig positiv spänningsregulator IC, känd för att tillhandahålla en stabil 9V -utgång i olika applikationer.Med sin förmåga att hantera strömmar mellan 1A och 1,5A finner den utbredd användning i fält som robotik och inbäddade system, där konsekvent spänningsförsörjning är allvarlig.För att uppnå optimal prestanda kräver LM7809 en ingångsspänning på minst 11V, vilket bibehåller ett minimum 2V -utrymme för att leverera sin reglerade utgång.Att utforma en korrekt strömförsörjning med adekvat ingångsreserv krävs för att säkerställa effektivitet och förhindra avbrott i kraftflödet.
Med stöd för ingångsspänningar så höga som 35V, visar LM7809 mycket anpassningsbar till miljöer där spänningsfluktuationer är vanliga, såsom bilelektronik och fältinstrument.Dess förmåga att hantera spänningsöverskådor förbättrar tillförlitligheten, vilket gör det till ett föredraget val för dig som hanterar system med variabla ingångsförhållanden.Hantering av värmeavledning används emellertid, eftersom spänningsskillnaden mellan ingång och utgång genererar värme.Korrekt termisk design, inklusive användning av lämpliga kylflänsar, krävs för att säkerställa effektiv drift och förlänga enhetens livslängd.
Inbyggda funktioner som termisk avstängning och kortslutningsskydd förbättrar ytterligare LM7809: s pålitlighet och skyddar den under negativa förhållanden.Dessa skydd gör regulatorn värdefulla i både kommersiella och pedagogiska sammanhang, och erbjuder inte bara tillförlitliga prestationer utan också möjligheter till praktiskt lärande om kretssäkerhet.Dessa inbäddade skyddsåtgärder bidrar till dess praktiska i applikationer som kräver hög tillförlitlighet och lågt underhåll, vilket stärker dess roll som en mångsidig spänningsregulator IC.

|
Pin No. |
Stiftnamn |
Beskrivning |
|
1 |
Input (V+) |
Oreglerad ingångsspänning |
|
2 |
Jord |
Ansluten till marken |
|
3 |
Utgång (VO) |
Utgångar reglerade +9V |
|
Särdrag |
Information |
|
Nuvarande utgångsintervall |
1A till 1,5A |
|
Kostnadseffektivitet |
Ja |
|
Applikationslämplighet |
Kommersiella ansökningar |
|
Utspänning |
Stabil och konsekvent 9V -utgång |
|
Maximal ingångsspänning |
35V DC |
|
Standby nuvarande konsumtion |
Extremt låg, bara 8mA |
|
Minsta obligatoriska ingångsspänning |
11v |
|
Maximal tillåten ingångsspänning |
35V |
|
Strömförsörjningsförhållanden (PSRR) |
55 dB |
|
Utgångsspänningsolerans |
9V ± 4% |
|
Drop-out-spänning (VI-VO) |
2.0V |
|
Utgångstyp |
Fast |
|
Termiskt och nuvarande skydd |
Intern termisk överbelastning och kortslutningsström
Begränsande |
|
Maximal korsningstemperatur |
125 ° C |
|
Pakettyper |
TO-220, TO-3, KTE |
|
Typ |
Parameter |
|
Nominell leverantör |
5 ma |
|
Lugn ström |
8 ma |
|
Utgångskonfiguration |
Positiv |
|
Spänningsavfall (max) |
2v @ 1a typ |
|
Terminalposition |
ENDA |
|
Skyddsfunktioner |
Över temperatur, kortslutning |
|
Bortfallspänning |
2v |
|
Bortfallspänning1-nom |
2v |
|
Utgångsspänningsnoggrannhet |
4% |

Den kända 7809 Spänningsregulator är känd inte bara för sin precision i utgången utan också för sin distinkta förmåga att leverera en mycket slät spänningsförsörjning, ofta överträffar många DC-DC-omvandlare i detta avseende.Att generera mer värme är emellertid en anmärkningsvärd biprodukt av detta attribut.Denna överlägsna jämnhet beror till stor del på närvaron av en seriepasstransistor vid utgången, som spelar en nyckelroll för att begränsa överskottsspänningen.
För att urskilja mängden kraft som försvinner kan man tillämpa formeln: (ingångsspänning - utgångsspänning) x utgångsström.Anta att ingångsspänningen är 12V med en motsvarande utgångsström på 1A.I denna situation beräknas kraftavledningen till 3 watt, vilket antyder att effektiva termiska hanteringsstrategier, såsom kylflänsar, rekommenderas.
Nödvändigheten för värmehantering blir uppenbar när regulatorns spridning överträffar 1,25 watt - tröskeln utöver vilken ytterligare kylning krävs.I kretskonstruktion är det en ultimat uppgift som är användbar för att upprätthålla både prestanda och systemberoende.
7809-spänningsregulatorn spelar en ultimat roll för att tillhandahålla en pålitlig 9V-effektutgång i scenarier där ingångsmiljön kan variera.Den hanterar effektivt ingångsspänningar mellan 11V och 35V, vilket säkerställer en stadig utgångsström som vanligtvis överstiger 1A, med toppfunktioner som når upp till 2.2A.Detta gör det ett lämpligt urval för dig som värderar pålitlighet.
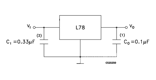
När strömkällan är belägen över 10 tum från installationsplatsen, är det tillrådligt att integrera en ingångskondensator på 0,33uF eller större.Att välja kondensatorer med låg ekvivalent seriemotstånd (ESR) kan bidra till att minska energiförlusten.Dessa konfigurationer spelar en anmärkningsvärd roll för att öka spänningsregulatorns prestanda, främst för att upprätthålla stabilitet mitt i olika förhållanden.
7809 9V regulator med förbikopplingsfall

Att lägga till en valfri 0,1UF -utgångskondensator kan förbättra det övergående svaret för 7809 avsevärt.Detta leder till märkbara förbättringar när man möter fluktuationer i belastning eller ingångsspänning och därmed ökar systemets totala motståndskraft.Även om det vanligtvis praktiseras är det insiktsfullt att utforska anpassade konfigurationer anpassade efter specifika miljökrav.

• LM7806
• LM7824
• LM7815
• LM7812
• Lm317
• LM7905
• LM7912
LM7809 används i stor utsträckning för att leverera en konsekvent 9V -utgång, som mestadels är lämpad för mikrokontroller och sensorer.Förmågan hos denna enhet att upprätthålla prestanda trots fluktuerande ingångsspänningar stöder integriteten för känslig sensordata och mikrokontrollaktiviteter, vilket i slutändan förbättrar hållbarheten hos elektroniska system.Att säkerställa effektiv spänningsreglering bedrivs ofta i praktiska tillämpningar för att undvika problem som datakorruption eller förlust inom mikrokontroller.
När en exakt nedskärning från högre spänningar till 9V behövs, utmärker LM7809 på grund av dess kunskaper i att minimera spänningskonsekvenserna.Denna funktion är särskilt värdefull i scenarier där enheter, som sofistikerade hemautomationssystem eller bärbar elektronik, är sårbara för överspänningshot.Integrering av LM7809 minskar sannolikheten för skada orsakad av ingångsspänningsvariationer.
Inom kraftförsörjningssystemen erkänns LM7809 för att leverera en konsekvent utgång, användbar för regelbundna operationer.I både industriella miljöer och konsumentelektronik förhindrar den kraftstörningar som kan leda till dyra driftstider eller missförvaltning av data.Dess inbyggda termiska skydd ger ett lager av motståndskraft, vilket gör att LM7809 kan hantera övergående förhållanden som vanligtvis stöter på i miljöer.
När den används i motoriska förare -inställningar ger LM7809 den stabilitet som behövs för att motorer ska kunna utföra konsekvent.Detta attribut är stort för applikationer som robotik eller precisionstillverkning, där motorer måste arbeta med utsedda hastigheter eller moment.Regulatorns förmåga att jämna spänningsfluktuationer säkerställer att operativ effektivitet upprätthålls.
Vid batteriladdning och solenergisystem spelar LM7809 en grundläggande roll för att tillhandahålla en konstant laddningsspänning och därmed förlänga batteritiden och effektiviteten.Det är mest fördelaktigt i solsystem med variabla ingångsspänningar under dagen.Integrering av LM7809 stöder en optimerad laddningscykel under olika ingångsförhållanden.
LM7809, som fungerar som en primär kraftkälla för mikrokontroller, minskar utmaningar relaterade till kraftkänslighet och konsistens.Tillhandahållande av en stabil strömförsörjning används i komplexa inställningar där exakt kraftstabilitet säkerställer sömlös drift av mikroprocessordrivna uppgifter.
LM7809 är värdefull som en del av justerbara regulatorsystem, där olika spänningsnivåer behövs för distinkta steg.Det hjälper också i situationer där nuvarande begränsningar krävs, vilket skyddar sammankopplade enheter från oväntade överspänningar.Genom att integrera LM7809 kan du inte bara säkra spänningskonstans utan effektiv nuvarande hantering, en övervägande som kan vara frånvarande i bredare systemkonstruktioner.
I dubbla försörjningssystem som kräver utgångspolaritetsförsvar erbjuder LM7809 skydd mot felaktiga anslutningar.Denna aspekt krävs i intrikata elektroniska konstruktioner där omvänd polaritet kan leda till komponentskador.LM7809: s förmåga att uthärda sådana förhållanden utan att förlora prestanda introducerar stor motståndskraft, vilket bidrar till oavbruten systemdrift.




LM7809 -spänningsregulatorn är en pålitlig lösning för att upprätthålla en stabil 9V -utgång, vilket visar anmärkningsvärd prestanda i olika elektroniska applikationer.Dess enkla design, i kombination med robusta funktioner som termiskt skydd och kortslutningssäkerhet, säkerställer tillförlitlighet i både prototyper och färdiga system.Genom att ta itu med utmaningar som spänningsfluktuation och värmeavledning förbättrar LM7809 enhetens effektivitet och livslängd.När tekniken utvecklas fortsätter LM7809 att spela en dynamisk roll för att leverera stabil kraft, främja innovation och säkerställa hållbarheten hos elektroniska mönster för dig.
Skicka en förfrågan, vi svarar omedelbart.
LM7809 spelar en anmärkningsvärd roll genom att leverera en pålitlig 9V -positiv utgång och adressera lokala utmaningar för spänningsreglering på kortet för att underlätta distributionskomplexiteten.Med sitt stabila stöd förbättrar det tillförlitligheten hos strömförsörjningen och mildrar potentiella störningar i elektroniska kretsar, vilket ger en känsla av säkerhet till systemintegratorer.
Genom att tillhandahålla en stadig 9V -utgång kan LM7809 leverera upp till 1A ström och rymmer ett ingångsspänningsspektrum som sträcker sig från 11 till 35V.Denna flexibilitet främjar sin tillämpbarhet i att anpassa sig till olika krafthanteringsscenarier, vilket gör det till en tillgång för dem som syftar till att harmonisera olika elektroniska behov.
Som en tre-terminal enhet kräver LM7809 en likströms ingångsspänning mellan 12 och 25 V. Att införliva en ingångsfilterkondensator är tillrådlig, tillsammans med en kylfläns för att hantera termiska hanteringsutmaningar, särskilt under höga belastningsförhållanden.Detta praktiska tillvägagångssätt bidrar till kretsens långvariga och effektiva prestanda.
En orörd och stadig DC -ingång till spänningsregulatorn krävs för att uppnå sömlös reglering och konstant utgångsprestanda.Noggrann övervägande av kvaliteten på anslutningarna och den strategiska placeringen av komponenter kan förhindra störningar och därmed bibehålla den elektroniska konfigurationens integritet.
Att konstruera en grundläggande konstruktion innebär ofta att para en 7805 linjär spänningsregulator med kondensatorer för att inse den önskade spänningskonstansen.Dessa enkla inställningar kan vara klivande stenar för att utveckla mer komplicerade system och avslöja insikter om effektiv krafthantering inom elektroniska enheter.
på 2024/11/28
på 2024/11/28
på 8000/04/18 147757
på 2000/04/18 111934
på 1600/04/18 111349
på 0400/04/18 83719
på 1970/01/1 79508
på 1970/01/1 66898
på 1970/01/1 63010
på 1970/01/1 63007
på 1970/01/1 54081
på 1970/01/1 52118