
De Tip42c förkroppsligar en PNP-krafttransistor inrymd i ett TO-220 plastpaket.Denna serie innehåller fyra variationer: Tip42, Tip42a , Tip42boch TIP42C.TIP42C sticker ut för sin spänningskapacitet och kan hantera upp till -100V, vilket erbjuder exceptionell mångsidighet för många växling och amplifieringsanvändningar.Dess ofta parning med NPN -motsvarigheten, TIP41C, betonar vidare dess balanserade tillämpning i elektroniska mönster.
TIP42C är utformad för att spridas upp till 65W och hantera en maximal samlarström på -6a och gynnas i kraftintensiva sammanhang.Typiska användningar inkluderar ljudförstärkare, där sund tydlighet är dominerande och krafthanteringssystem, vilket säkerställer ett konsekvent energiflöde.Utifrån praktisk användning gör TIP42C: s stabilitet i olika temperaturförhållanden den ovärderlig för att byta regulatorer inom strömförsörjningsenheter.TO-220-paketet förstärker sin värmeavledning och förlänger dess operativa liv, en egenskap som uppskattas i både konsumentelektronik och industriella maskiner.
När ett system kräver kompletterande transistorpar, uppstår TIP42C i kombination med TIP41C som ett utmärkt val.Denna synergi förenklar kretsdesignen samtidigt som den ökar den totala prestandan.Denna parning förbättrar ljudkvaliteten i ljudförstärkningskretsar, en subtil men påverkande förbättring av ljudtekniken.I TIP42-serien gör TIP42C: s anmärkningsvärda högre spänningskapacitet den idealisk för högspänningsapplikationer.Å andra sidan, för projekt med lägre spänningsbehov, kan TIP42 och TIP42A räcka.För mer ansträngande krav är emellertid TIP42B och TIP42C go-to-alternativen.Varje variation har unika attribut som är lämpliga för specifika krav, vilket gör urvalsprocessen både allvarlig och fascinerande.

|
Pin No. |
Stiftnamn |
Beskrivning |
|
1 |
Bas |
Kontrollerar förspänningen av transistorn och är van vid
Slå på/av transistorn |
|
2 |
Samlare |
Där strömmen flyter in, normalt anslutet till belastning |
|
3 |
Sändas |
Där strömmen rinner ut, normalt anslutet till marken |



|
Särdrag |
Specifikation |
|
Transistortyp |
Pnp |
|
Pakettyp |
Till-220 |
|
Max Collector Current (IC) |
-6a |
|
Max Collector-Emitter Spoltage (VCE) |
-100V |
|
Max Collector-Base Voltage (VCB) |
-100V |
|
Max Emitter-basspänning (VEBO) |
-5V |
|
Max Collector Dissipation (PC) |
65 watt |
|
Max Transition Frequency (FT) |
3 MHz |
|
DC Current Gain (HFE) |
15 - 75 |
|
Max lagring och driftstemperatur |
-65 till +150 ° C |
TIP42C-serien introducerar en PNP-NPN-kompletterande design som markant ökar kretseffektiviteten och prestandan.Kompletterande par, såsom de som finns i denna serie, underlättar sömlös drift i både amplifierings- och växlingsscenarier, vilket minskar behovet av extra komponenter och strömlinjeformning av kretslayouter.
En slående fördel med TIP42C-serien ligger i sin höghastighetsbrytande kapacitet.Denna funktion stöder snabba tillståndsövergångar med minimal fördröjning, idealisk för applikationer som kräver snabbresponstider som motorstyrning och signalbehandling.Komponentens förmåga att byta snabbt förbättrar den totala systemeffektiviteten och tillförlitligheten, vilket gör det till ett gynnat val för strömförsörjningskretsar som kräver stabil och effektiv drift.
TIP42C -serien sticker ut för sin förbättrade HFE -linearitet.Förhöjd linearitet i den nuvarande förstärkningen (HFE) säkerställer konsekventa amplifieringsegenskaper över ett brett spektrum av driftsförhållanden.Denna tillförlitlighet innebär mer förutsägbar och stabil prestanda, särskilt aktiv för analog signalbehandling och precisionsinstrument.I praktiska tillämpningar innebär detta att operativa förstärkare och analoga kretsar kan uppnå hög trohet och upprätthålla integriteten hos de signaler de bearbetar.
TIP42C -transistorer har grupperade HFE -värden, kategoriserade baserat på deras nuvarande förstärkningsområde.Detta ger en fördel i applikationer som kräver matchade par genom att förenkla designprocessen och minska individuella testinsatser.Grupperade HFE -värden säkerställer att parade transistorer fungerar enhetligt, en sedimenterande aspekt i differentiella förstärkarkonstruktioner och andra symmetriska kretskonfigurationer.
|
Typ |
Parameter |
|
Livscykelstatus |
Aktiv (senast uppdaterad: 8 månader sedan) |
|
Fabriksledning |
8 veckor |
|
Montera |
Genom hålet |
|
Monteringstyp |
Genom hålet |
|
Förpackning / fodral |
TO-220-3 |
|
Antal stift |
3 |
|
Vikt |
4.535924G |
|
Transistorelementmaterial |
KISEL |
|
Spänning i samlaremitterande |
100V |
|
Antal element |
1 |
|
hfemin |
15 |
|
Driftstemperatur |
150 ° C TJ |
|
Förpackning |
Rör |
|
JESD-609 kod |
e3 |
|
Delstatus |
Aktiv |
|
Fuktkänslighetsnivå (MSL) |
1 (obegränsad) |
|
Antal avslutningar |
3 |
|
ECCN -kod |
Örat99 |
|
Terminal |
Matt tenn (Sn) |
|
Spänning - klassad DC |
-100V |
|
Max Power Dispipation |
65w |
|
Aktuellt betyg |
-6a |
|
Basdelnummer |
Tip42 |
|
Räkning |
3 |
|
Elementkonfiguration |
Enda |
|
Maktförsläpp |
65w |
|
Transistorapplikation |
VÄXLANDE |
|
Få bandbreddprodukt |
3MHz |
|
Polaritet/kanaltyp |
Pnp |
|
Transistortyp |
Pnp |
|
Collector Emitter Spoltage (VCEO) |
100V |
|
Max Collector Current |
6A |
|
DC Current Gain (HFE) (min) @ IC, VCE |
15 @ 3a 4v |
|
Aktuell - Collector Cutoff (Max) |
700μA |
|
JEDEC-95 kod |
TO-220AB |
|
Vce mättnad (max) @ ib, ic |
1.5V @ 600ma, 6a |
|
Övergångsfrekvens |
3MHz |
|
Collector Base Voltage (VCBO) |
100V |
|
Emitter basspänning (VEBO) |
5V |
|
Höjd |
15,75 mm |
|
Längd |
10.4 mm |
|
Bredd |
4,6 mm |
|
Nå SVHC |
Ingen SVHC |
|
Strålning härdning |
Inga |
|
ROHS -status |
ROHS3 -kompatibel |
|
Blyfri |
Blyfri |
|
Artikelnummer |
Beskrivning |
Tillverkare |
|
2N2646-JQR-AR1 |
Power Bipolar Transistor, 10A (IC), 70V V (BR) VD,
1-element, PNP, kisel, till-204AA, metall, 2 stift, hermetisk förseglad, metall,
TO-3, 2-stift |
TT elektronikmotstånd |
|
2n2646-modr1 |
10A, 70V, PNP, SI, Power Transistor, TO-204AA, Hermetic
Förseglad, metall, till-3, 2 stift |
TT Electronics Power och Hybrid / Semelab Limited |
|
Bux66 |
Transistor |
Allmänt elektriskt fast tillstånd |
|
Jan2n6212 |
Transistor, BJT, PNP, 300V (BR) VD, 2A IC, TO-66 |
Intersil Corporation |
|
MJ2500 |
Medium krafttransistorer kompletterande kisel |
New Jersey Semiconductor Products Inc |
|
2N4240R1 |
5A, 300V, NPN, SI, Power Transistor, TO-66, TO-66, 2 Pin |
TT Electronics Power och Hybrid / Semelab Limited |
|
2n2647 |
Transistor |
API Technologies Corp |
|
2N2647-JQR-B |
Power Bipolar Transistor, 10A (IC), 90V V (BR) VD,
1-element, PNP, kisel, till-204AA, metall, 2 stift, hermetisk förseglad, metall,
TO-3, 2-stift |
TT elektronikmotstånd |
|
2n6313-mod |
5A, 600V, PNP, SI, Power Transistor, TO-213AA, Hermetic
Förseglad, metall, till 66, 2 stift |
TT Electronics Power och Hybrid / Semelab Limited |
|
Jan2n6211 |
Power Bipolar Transistor, 2A (IC), 225V V (BR) VD,
1-element, PNP, kisel, TO-66, metall, 2 stift, TO-66, 2-stift |
Microsemi Corporation |
•Tip41c Transistor
TIP41C-transistorn är utformad för att hantera en samlaremitterspänning (VCE) på upp till 100V.Det kan hantera en samlarström (IC) på 6A utan att kompromissa med prestanda.Denna transistor kan sprida kraft upp till 65W, vilket gör den lämplig för applikationer där värmehantering är ett problem.TIP41C har en korsningstemperatur (TJ) som kan nå upp till 150 ° C, vilket erbjuder tillförlitlighet under betydande termisk stress.
TIP41C, som arbetar inom ett lagringstemperaturområde från -65 ° C till 150 ° C, kan uthärda hårda förhållanden.Dess robusta konstruktion säkerställer funktionalitet i olika krävande miljöer.Ljudförstärkning och signalbehandling.TIP41C -transistorn hittar ofta sin användning i ljudamplifieringssystem, där det bidrar till ljudets tydlighet och kraft.I motorstyrningsapplikationer hjälper den att reglera motorhastigheten, vilket ger en smidig och effektiv övergång mellan motorstillstånd.Denna kapacitet överensstämmer nära med sina nuvarande hanteringsegenskaper.TIP41C tjänar i relädrivrutiner på grund av dess förmåga att byta och kontrollera högströmbelastningar effektivt.Dess krafthanteringsförmågor säkerställer konsekvent prestanda.
När du integrerar TIP41C i en krets, överväg lämplig kylfläns för att förhindra överhettning, vilket kan påverka prestanda och livslängd.Var uppmärksam på dess mättnadsspänning (VCE (SAT)) och växlingstider (ton och TOFF) vid utformning av kretsar som kräver snabb växling, eftersom dessa parametrar påverkar den totala effektiviteten och hastigheten.Korrekt förspänning krävs för att upprätthålla TIP41C: s stabilitet under olika operativa förhållanden.Utvärdera de yttre motståndarna och kondensatorerna för att säkerställa tillförlitlig prestanda.
TIP42C finner omfattande användning i högeffekttapplikationer inom elektroniska kretsar, som skickligt hanterar upp till -6A Collector Current och -100V Collector -emitterspänning.
På grund av dess betydande ström- och spänningshanteringsfunktioner är TIP42C ett bra val för att köra högeffektbrytare och reläer.Dessa applikationer inkluderar motorstyrningssystem där precisionen för kraftleverans till motorn kan påverka prestandan betydligt.I industriell automatisering beror till exempel driften av tunga maskiner ofta på transistorer för att hantera höga belastningar utan att ge efter för överhettning eller misslyckande.
TIP42C är också effektivt för att driva ljudförstärkare med hög watt, vilket möjliggör ljudförstärkning upp till 65W.Detta säkerställer tydlig och kraftfull ljudutgång, som är lämplig för konsumentljudsystem.Till exempel är den robusta förstärkningen som tillhandahålls av dessa transistorer farliga i live -konsertljudsystem, vilket säkerställer att ljudsignaler förstärks utan distorsion.
TIP42C finner omfattande användning i allmänna kretskonstruktioner på grund av dess karakteristik som en PNP -bipolär korsningstransistor.Dess motståndskraft gör det möjligt att hantera ett brett utbud av spänning och nuvarande nivåer och därmed öka kretsstabiliteten.När den används i vanliga emitterkonfigurationer bidrar den väsentligt till förstärkningen av spänningsignaler.
Vid batteriladdningsapplikationer är TIP42C grundläggande för att reglera laddningsspänning och ström, vilket säkerställer att processen är både snabb och säker.Observationer från faktiska applikationer belyser termisk hantering som insisterande för att upprätthålla konsekvent prestanda under längre perioder.
TIP42C finner effektiv användning i Darlington -parkonfigurationer för att få högre strömförstärkning.Detta arrangemang förstärker ingångsströmmar markant, vilket gör det lämpligt för applikationer som kräver överlägsen strömförstärkning.Att använda kylflänsar i praktiska implementeringar hjälper till att upprätthålla operativ stabilitet och förlänga enhetens livslängd.

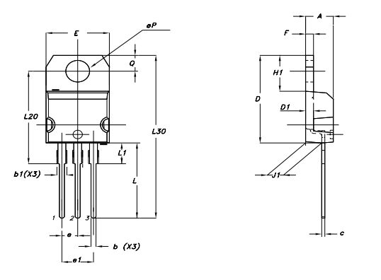
|
Dämpa |
mm |
tum |
||||
|
Min |
Typ |
Max |
Min |
Typ |
Max |
|
|
En |
4.4 |
4.6 |
0,173 |
0,181 |
||
|
b |
0,61 |
0,88 |
0,024 |
0,034 |
||
|
b1 |
1.14 |
1.7 |
0,044 |
0,066 |
||
|
c |
0,49
|
0,7 |
0,019 |
0,027 |
||
|
D |
15.25 |
15.75 |
0.6 |
0,62 |
||
|
D1 |
1.27 |
0,05 |
||||
|
E |
10 |
10.4 |
0,393 |
0,409 |
||
|
e |
2.4 |
2.7 |
0,094 |
0,106 |
||
|
e1 |
4.95 |
5.15 |
0,194 |
0,202 |
||
|
F |
1.23 |
1.32 |
0,048 |
0,051 |
||
|
H1 |
6.2 |
6.6 |
0,244 |
0,256 |
||
|
J1 |
2.4 |
2,72 |
0,094 |
0,107 |
||
|
L |
13 |
14 |
0,511 |
0,551 |
||
|
L1 |
3.5 |
3.93 |
0.137 |
0.154 |
||
|
L20 |
16.4 |
0,645 |
||||
|
L30 |
28.9 |
1.137 |
||||
|
ØP |
3.75 |
3.85 |
0,147 |
0,151 |
||
|
Q |
2.65 |
2,95 |
0,104 |
0.116 |
||
STMicroelectronics är en pionjär inom halvledarinnovation och utmärker sig mestadels inom System-on-Chip (SOC) -teknologi.Företaget erbjuder en mängd olika kisel- och systemlösningar för att tillgodose olika mikroelektronikapplikationer.
Stmicroelectronics är känt för sin SOC -teknik och integrerar flera funktioner i ett enda chip och ökar effektiviteten och prestanda.I det snabba tekniska landskapet är kompakta och pålitliga bearbetningsenheter eftertraktade.Genom kontinuerlig innovation och anpassning säkerställer STMicroelectronics att deras SOC -lösningar stiger upp till tillfället, vilket återspeglar den visdom som erhållits genom många års erfarenhet.
Stmicroelectronics ger ett brett spektrum av kisellösningar hos mikrokontroller, analoga och blandade signalkomponenter, sensorer och kraft ICS.Dessa element är nyckeln till skapandet av avancerade elektroniska system, främjar sömlös integration och optimal funktionalitet.Deras systemlösningar förkroppsligar en djup förståelse för hårdvara och mjukvaruinteraktioner, vilket gör att deras produkter kan utföra beundransvärt i olika inställningar.Stmicroelectronics 'enorma immateriella egendom (IP) portfölj betyder sitt engagemang för kontinuerlig innovation.Denna mängd patent och egenutvecklade teknik ger företaget möjlighet att leverera unika och uppdaterade lösningar.Genom att strategiskt utnyttja sina IP -tillgångar erbjuder de distinkta fördelar inom produktutveckling, precis som att använda ackumulerad expertis för att främja pågående innovation.
Stmicroelectronics starka tillverkningsförmåga säkerställer konsekvent produktkvalitet och pålitlighet.Genom att använda toppmoderna anläggningar och stränga kvalitetskontrollåtgärder uppfyller varje produkt krävande industristandarder.Antagandet av avancerade tillverkningstekniker och en kultur för kontinuerlig förbättring gör det möjligt för företaget att upprätthålla sin konkurrensfördel på halvledarmarknaden.
TIP42C är en kiselbaserad PNP-krafttransistor, lovad för sin effektivitet i både amplifiering och växlingsapplikationer.Dess allvarliga elektriska egenskaper inkluderar en 100V-spänningsolerans över både samlaremitterande och basuppskolningsterminaler.Denna transistors mångsidighet placerar den som ett gynnat alternativ i många elektroniska kretsar.
Att se till att TIP42C: s livslängd i kretsar innebär att följa olika bästa metoder är lämplig termisk hantering är ultimat.Att använda en väl lämpad kylfläns kan särskilt minska överhettningsriskerna.Ett adekvat basmotstånd krävs för att kontrollera basströmmen och därigenom förhindra onödig kraftfördelning.Det är klokt att undvika att överskrida -6A och -100V belastningsgränser för att förhindra elektrisk stress, vilket kan undergräva transistorns integritet.Att upprätthålla driftsförhållandena minst 20% under de maximala betyg är en klok tillvägagångssätt.Denna buffert kan förlänga komponentens livslängd och stärka den totala tillförlitligheten.Praktisk erfarenhet av elektronik visar att konservativa operativa marginaler främjar både komponentlivslängd och systemstabilitet.Att säkerställa att lagrings- och driftstemperaturer förblir inom -65 ° C till +150 ° C -intervallet är avgörande för att bevara transistorens kiselstruktur.
Skicka en förfrågan, vi svarar omedelbart.
på 2024/10/18
på 2024/10/18
på 8000/04/18 147757
på 2000/04/18 111936
på 1600/04/18 111349
på 0400/04/18 83721
på 1970/01/1 79508
på 1970/01/1 66910
på 1970/01/1 63047
på 1970/01/1 63012
på 1970/01/1 54081
på 1970/01/1 52127