
De XC2S50-5TQG144I är en Spartan-II FPGA från AMD Xilinx, designad för digitala projekt som behöver flexibilitet och prestanda.Den har 50 000 systemgrindar och 1 728 logikceller, vilket gör att den kan hantera komplexa uppgifter.Chipet innehåller 384 konfigurerbara logikblock (CLB) och 32 768 RAM -bitar, vilket ger det bra minne och bearbetningskraft.Med 92 ingångs-/utgång (I/O) -stift kan den enkelt ansluta till andra komponenter.Den finns i en 144-stifts tunn quad-platt-förpackning (TQFP), som är kompakt och lätt att använda.FPGA körs på 2,5V (med ett säkert intervall på 2,375V till 2,625V) och fungerar bra i temperaturer mellan -40 ° C och +100 ° C.Denna Spartan-II FPGA är tillverkad med 0,18-mikron-teknik, vilket gör den effektiv och pålitlig.Det är programmerbart, vilket innebär att du kan uppdatera dess funktioner efter behov.
För en kostnadseffektiv, högpresterande lösning är det det optimala valet att placera en bulkorder hos oss, vilket säkerställer överlägsen kvalitet.

XC2S50-5TQG144I Symbol

XC2S50-5TQG144I FOTPRINT

XC2S50-5TQG144I 3D-modell
• Systemgrindar: XC2S50-5TQG144I FPGA erbjuder cirka 50 000 systemgrindar.Detta gör det möjligt att stödja komplexa digitala mönster och applikationer som kräver en betydande mängd logikbehandlingsfunktioner.
• Logikceller: Den här enheten innehåller 1 728 logikceller, som underlättar implementeringen av intrikata logikkonfigurationer och skapar olika digitala funktioner inom FPGA.
• Konfigurerbara logikblock (CLB): Den har 384 konfigurerbara logikblock (CLB), vilket ger grunden för FPGA: s logik.Dessa block kan programmeras och konfigureras om för att uppfylla specifika designkrav, vilket förbättrar enhetens totala mångsidighet.
• Ram: FPGA är utrustad med 32 768 bitar av intern RAM, och erbjuder effektiv datalagring och hämtningsfunktioner för uppgifter som involverar datamanipulation och tillfällig datalagring.
• I/O -stift: Med 92 I/O-stift säkerställer XC2S50-5TQG144I gott om extern anslutning, vilket gör att den kan gränssnitt med andra enheter och komponenter i ett system för omfattande systemintegration.
• Driftspänning: Enheten arbetar vid en nominell spänning på 2,5V, med ett acceptabelt intervall från 2.375V till 2.625V.Detta spänningsområde hjälper till att säkerställa stabil drift och pålitlig prestanda under olika elektriska förhållanden.
• Temperaturområde: XC2S50-5TQG144I är utformad för att fungera effektivt i ett brett temperaturområde, från -40 ° C till +100 ° C, vilket gör det lämpligt för distribution i miljöer med utmanande termiska förhållanden.

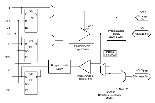
Diagrammet visar hur signaler rör sig in och ut ur XC2S50-5TQG144I FPGA.Det förklarar hur chipet hanterar ingångs- och utgångssignaler för att kommunicera med andra komponenter.På utgångssida , signaler kommer inifrån FPGA och går igenom lagringsenheter som kallas flip-flops.Dessa flip-flops har data och ser till att signaler ändras vid rätt tidpunkt.Signalerna passerar sedan genom en programmerbar utgångsbuffert, som justerar hur stark signalen är och kontrollerar hur snabbt den förändras.Det finns också en switch (OE -kontroll) som bestämmer om utgången ska vara aktiv eller hålla sig av.En skyddskrets förhindrar skador från statisk elektricitet innan signalen når I/O -stiften, som ansluter till andra enheter.På inmatningssida, signaler från utsidan kommer in via den programmerbara ingångsbufferten, som bearbetar dem innan du skickar dem inuti FPGA.En programmerbar fördröjningsenhet hjälper till att justera signaltidpunkten så att allt förblir synkroniserat.FPGA kan också använda en intern referensspänning (VREF) för att matcha olika spänningsnivåer, vilket gör det lättare att arbeta med olika typer av kretsar.Vissa I/O -stift delar denna spänningsreferens för att hålla signaler stabila.Denna design hjälper FPGA att hantera signaler effektivt, vilket säkerställer korrekt timing, skydd och kompatibilitet med olika elektroniska komponenter.
|
Typ |
Parameter |
|
Tillverkare |
AMD XILINX |
|
Serie |
Spartan®-II |
|
Förpackning |
Bricka |
|
Delstatus |
Föråldrad |
|
Antal laboratorier/clbs |
384 |
|
Antal logikelement/celler |
1728 |
|
Totala RAM -bitar |
32,768 |
|
Antal I/O |
92 |
|
Antal grindar |
50 000 |
|
Spänning - försörjning |
2.375V ~ 2.625V |
|
Monteringstyp |
Ytfäste |
|
Driftstemperatur |
-40 ° C ~ 100 ° C (TJ) |
|
Förpackning / fodral |
144-LQFP |
|
Leverantörspaket |
144-TQFP (20x20) |
|
Basproduktnummer |
Xc2s50 |
Inbäddade system
I inbäddade system tillhandahåller XC2S50-5TQG144I den nödvändiga logiken för mikrokontrollbaserade applikationer.Det används i stor utsträckning inom bilelektronik, bärbara enheter och småskaliga robotik för att förbättra funktionalitet och lyhördhet.
Signalbehandling
FPGA utmärker sig i signalbehandlingsuppgifter, där dess förmåga att utföra parallellbehandling krävs.Det är idealiskt för ljud- och videobehandling, telekommunikation och dataanalys, vilket ger hästkraften för att hantera komplexa algoritmer och höghastighetsdataströmmar.
Industrikontrollsystem
Industriella kontrollsystem drar nytta av denna FPGA: s robusthet och programmerbarhet, vilket gör det lämpligt för applikationer som processkontroll, maskinsautomation och systemövervakning.Dess tillförlitlighet säkerställer konsekvent prestanda i miljöer som kräver precision och operativ stabilitet.
Kommunikationssystem
I kommunikationssystem hjälper XC2S50-5TQG144I att hantera dataöverföring och mottagning, stödjande aktiviteter som signalmodulering och demodulering, protokollomvandling och nätverksrutning.Dess anpassningsförmåga är nyckeln till att utveckla telekommunikationsinfrastrukturer och nya trådlösa tekniker.
Prototypning och utveckling
FPGA används också i stor utsträckning för prototypning av digitala kretsar.Många använder det för att testa och förfina sina idéer före slutproduktionen, särskilt i komplexa ASIC och anpassade chipdesignprojekt.Denna kapacitet minskar utvecklingstiden och kostnaderna och påskyndar vägen från koncept till marknad.
Kostnadseffektivitet
XC2S50-5TQG144I sticker ut för sin överkomliga priser och levererar fler funktioner per dollar än många konkurrerande FPGA.Denna kostnadseffektivitet uppnås genom avancerad processteknologi och en effektiv arkitektur, vilket möjliggör bredare distribution på kostnadskänsliga marknader.
Högpresterande I/O och förpackning
Denna FPGA stöder ett brett utbud av I/O-standarder och finns i olika kostnadseffektiva förpackningsalternativ.Dessa funktioner säkerställer att enheten kan integreras i flera applikationer utan att offra prestanda, vilket gör den idealisk för både high-end och volymdrivna marknader där gränssnittets mångsidighet och fysiska begränsningar är faktorer.
Systemnivåfunktioner
Utrustad med avancerade minneshanteringsfunktioner som distribuerad RAM och konfigurerbar block RAM, förbättrar XC2S50-5TQG144I datahanteringseffektivitet.Dessa funktioner underlättar komplexa datalagring och bearbetningsuppgifter, vilket ökar systemets totala prestanda och skalbarhet.
Omprogrammerbarhet
Omprogrammerbarheten för XC2S50-5TQG144I tillåter obegränsade modifieringar av dess konfiguration, vilket är fördelaktigt under utvecklingsfasen.Denna flexibilitet gör det möjligt att förfina mönster genom iterativa uppdateringar utan ytterligare hårdvarukostnader, främja innovation och minska tiden till slutprodukten.
Programmering av XC2S50-5TQG144I FPGA från AMD XILINXs Spartan-II-serie involverar en strukturerad serie steg utformade för att effektivt översätta en digital design till en funktionell FPGA-konfiguration.Här är en integrerad och detaljerad guide som hjälper dig genom programmeringsprocessen:
1. Designpost
Börja med designinmatningsfasen, där du skapar din digitala logik med hjälp av ett hårdvarubeskrivningsspråk (HDL), till exempel VHDL eller Verilog.Detta första steg involverar att beskriva den funktionalitet och logik som du vill implementera i FPGA.Det krävs att din design är exakt och representerar exakt de avsedda operationerna för att säkerställa en framgångsrik syntes och implementering.
2. Syntes
I syntessteget använder du ett syntesverktyg för att konvertera din HDL -kod till en netlista.En netlista är en uppdelning av din design i ett format som innehåller olika sammankopplade logiska element som grindar och flip-flops.Denna process översätter din teoretiska design till en praktisk plan som FPGA kan förstå och implementera.
3. Implementering
Implementering involverar flera understeg: kartläggning, placering och routing.Kartläggning tilldelar elementen i din netlista till specifika logikblock inom FPGA.Placering bestämmer de fysiska platserna för dessa block på FPGA -chipet för att optimera prestanda och resursanvändning.Routing ansluter dessa block genom FPGA: s programmerbara sammankopplingsresurser.Denna fas säkerställer att designen uppfyller alla fysiska och prestandabegränsningar.
4. Begränsningsdefinition
Under designprocessen behövs det att definiera begränsningar.Begränsningar styr implementeringsverktygen genom att specificera krav som timing (hur snabbt FPGA ska fungera) och stiftuppdrag (som stift på FPGA kommer att ansluta till olika delar av din hårdvara).Dessa är formulerade i en användarbegränsningsfil (UCF), vilket hjälper till att finjustera designen för att uppfylla specifika operativa standarder.
5. Bitstream -generation
När din design framgångsrikt passerar genom implementeringsfasen är nästa steg att generera en Bitstream -fil.Den här filen innehåller alla konfigurationsdata som behövs av FPGA för att utföra designen.Bitstream är den slutliga utgången från programmeringsprocessen och representerar det kompletta, programmerade tillståndet för FPGA.
6. Enhetsprogrammering
Det sista steget är att ladda bitströmmen i XC2S50-5TQG144I FPGA, som kan göras med olika konfigurationslägen beroende på din installation.I Master Serial Mode, FPGA läser autonomt konfigurationsdata från en bifogad seriell prom (programmerbart skrivskyddsminne). Slavserieläge Tillåter en extern master -enhet, till exempel en mikrokontroller, att mata FPGA -konfigurationsdata seriellt. Slavparallellläge Aktiverar höghastighetsprogrammering genom att leverera konfigurationsdata parallellt från en extern master-enhet.Slutligen, Gränsskanning (JTAG) -läge använder JTAG -gränssnittet för både programmering och testning, vilket gör det användbart under utveckling för iterativ felsökning och verifiering.
Den XC2S50-5TQG144I är en fältprogrammerbar grindarray (FPGA) från Xilinx's Spartan-II-familj, inrymt i en 144-stifts tunt fyrdubblar (TQFP) -paket.Detta paket mäter 20 mm x 20 mm.
XC2S50-5TQG144I är en FPGA från familjen Spartan-II, tillverkad av AMD Xilinx.Xilinx, nu en del av Amd, är ett ledande halvledarföretag som specialiserat sig på FPGA, adaptiva SOC: er och andra programmerbara logikenheter.XC2S50-5TQG144I utvecklades ursprungligen under Xilinx Spartan-II-serien och erbjuder 50 000 systemgrindar och 1 728 logikceller, designade för högpresterande men ändå kostnadseffektiva tillämpningar.Med Xilinx förvärv av AMD fortsätter företaget att stödja äldre produkter som Spartan-II-serien samtidigt som de främjar nyare FPGA-arkitekturer.Emellertid är XC2S50-5TQG144I en äldre generationens FPGA och kan möta eventuell föråldring när AMD Xilinx skiftar fokus till mer avancerade FPGA-familjer.
XC2S50-5TQG144I FPGA är ett kostnadseffektivt och omprogrammerbart chip som erbjuder bra prestanda och flexibilitet.Det används ofta i inbäddade system, industriella maskiner och kommunikationsnätverk på grund av dess höghastighetsbehandling och starka anslutningsalternativ.Med sin förmåga att programmeras och uppdateras hjälper denna FPGA att testa och utveckla nya idéer före slutproduktionen.Även om nyare FPGA: er finns tillgängliga, förblir denna modell ett solid val för projekt som behöver en pålitlig och prisvärd FPGA -lösning.Den här guiden ger en tydlig och enkel översikt över FPGA: s funktioner, användningsområden och programmeringsprocessen, vilket gör den till en värdefull resurs för alla.
Skicka en förfrågan, vi svarar omedelbart.
XC2S50-5TQG144I stöder hastigheter upp till 200 MHz, vilket gör den lämplig för de flesta inbäddade och industriella applikationer.Men om ditt projekt kräver höghastighetsgränssnitt som PCIe- eller DDR-minne, kan du behöva en mer avancerad FPGA som den Spartan-6 eller Artix-7-serien.
Medan nyare FPGA: er som Spartan-3 eller Spartan-6 erbjuder förbättrad prestanda, högre logikdensitet och ytterligare funktioner, förblir XC2S50-5TQG144I ett föredraget val för kostnadskänsliga projekt med måttlig komplexitet.Om du behöver äldre kompatibilitet eller en stabil leveranskedja är XC2S50-5TQG144I ett bra alternativ.
XC2S50-5TQG144I är programmerad med Xilinx ISE (integrerad mjukvarimiljö).Medan nyare Xilinx-verktyg som Vivado inte stöder familjen Spartan-II, tillhandahåller ISE all nödvändig design, syntes och programmeringsfunktioner för denna FPGA.
Ja, men det kräver modifieringar.De nyare familjerna Spartan-3 och Spartan-6 använder olika arkitektur-, spänningsnivåer och konfigurationsmetoder.Om du överväger migration kan vi hjälpa till att välja lämpliga alternativ och minimera designändringar.
S: Ja, FPGA stöder JTAG (IEEE 1149.1) Gränsskanningsprogrammering, vilket möjliggör enkel felsökning och konfiguration med ett standard JTAG -gränssnitt.Detta är användbart för både initial programmering och rekonfiguration utan externt minne.
på 2025/03/18
på 2025/03/18
på 8000/04/18 147766
på 2000/04/18 111994
på 1600/04/18 111351
på 0400/04/18 83758
på 1970/01/1 79552
på 1970/01/1 66952
på 1970/01/1 63096
på 1970/01/1 63028
på 1970/01/1 54094
på 1970/01/1 52176