
De TMS320C6421ZWT5 är en högpresterande digital signalprocessor (DSP) utvecklad av Texas Instruments som en del av sin TMS320C64X+ -familj.Byggt på Velociti.2 VLIW-arkitekturen levererar denna enhet kraftfulla fastpunktsbehandlingsprestanda utformad för intensiv signalhantering i moderna inbäddade system.Med klockhastigheter som når upp till 500 MHz kan den utföra flera instruktioner per cykel, vilket gör det lämpligt för ett brett utbud av avancerade behandlingsuppgifter.C6421-serien, som tillhör den bredare TMS320C6000 DSP-plattformen, bär framåt Texas Instruments fokus på skalbara och kodkompatibla lösningar.Som en del av en beprövad familj av processorer som litar på över hela världen erbjuder TMS320C6421ZWT5 en pålitlig grund för långsiktiga mönster.
Letar du efter TMS320C6421ZWT5?Kontakta oss för att kontrollera nuvarande lager, ledtid och prissättning.

TMS320C6421ZWT5 Symbol

TMS320C6421ZWT5 fotavtryck

TMS320C6421ZWT5 3D -modell
• Högpresterande DSP-kärna
Enheten drivs av Velociti.2 ™ VLIW -kärnan, som kan utföra upp till åtta instruktioner i en enda cykel.Denna arkitektur möjliggör mycket hög genomströmning, vilket gör den idealisk för komplexa signalbehandlingsuppgifter.
• Effektiva multiplikatorer och ALUS
Den integrerar sex aritmetiska logikenheter (ALUS) och två kraftfulla multiplikatorer, som kan hantera flera operationer samtidigt.Denna design stöder intensiva matematiska operationer som filtrering, modulering och kodning.
• Flexibelt minne på chip
Processorn inkluderar 16 KB -programcache, 48 KB -datacache och 64 kB enhetligt L2 -minne.Dessa interna resurser minskar latensen och stödjer snabbare genomförande av applikationer.
• DDR2- och flashminnesgränssnitt
Chipet har en 16-bitars DDR2 SDRAM-styrenhet och en 8-bitars asynkron EMIF för externt minne som NOR och NAND Flash.Denna flexibilitet gör det möjligt att utöka minnet för större applikationer.
• Mångsidigt perifert stöd
Det tillhandahåller ett brett utbud av gränssnitt inklusive UART, I²C, MCBSP, MCASP med SPDIF och ett 16-bitars värdportgränssnitt.Dessa gör processorn mycket anpassningsbar för telekom, ljud och industriella system.
• Enhanced DMA Controller (EDMA)
En 64-kanals förbättrad DMA-kontroller stöder snabb dataöverföring mellan minne och kringutrustning.Detta minskar CPU -belastningen och förbättrar den totala systemets prestanda.
• Nätverk och anslutning
Chipet integrerar en 10/100 Ethernet MAC med MII/RMII -stöd och ett VLYNQ -gränssnitt för extern anslutning.Dessa funktioner gör det lämpligt för nätverksaktiverade inbäddade applikationer.
• Rich Allmänt I/O
Med upp till 111 multiplexerade GPIO -stift och tre PWM -utgångar erbjuder DSP utmärkt flexibilitet för systemkontroll och anpassad gränssnitt.Detta säkerställer enkel integration i ett brett utbud av hårdvarukonstruktioner.
• Lågspänning
Den arbetar med en kärnspänning på 1,05 V eller 1,2 V och I/O -nivåer på 1,8 V eller 3,3 V. Denna balans mellan krafteffektivitet och flexibilitet gör den tillförlitlig för inbäddade mönster.

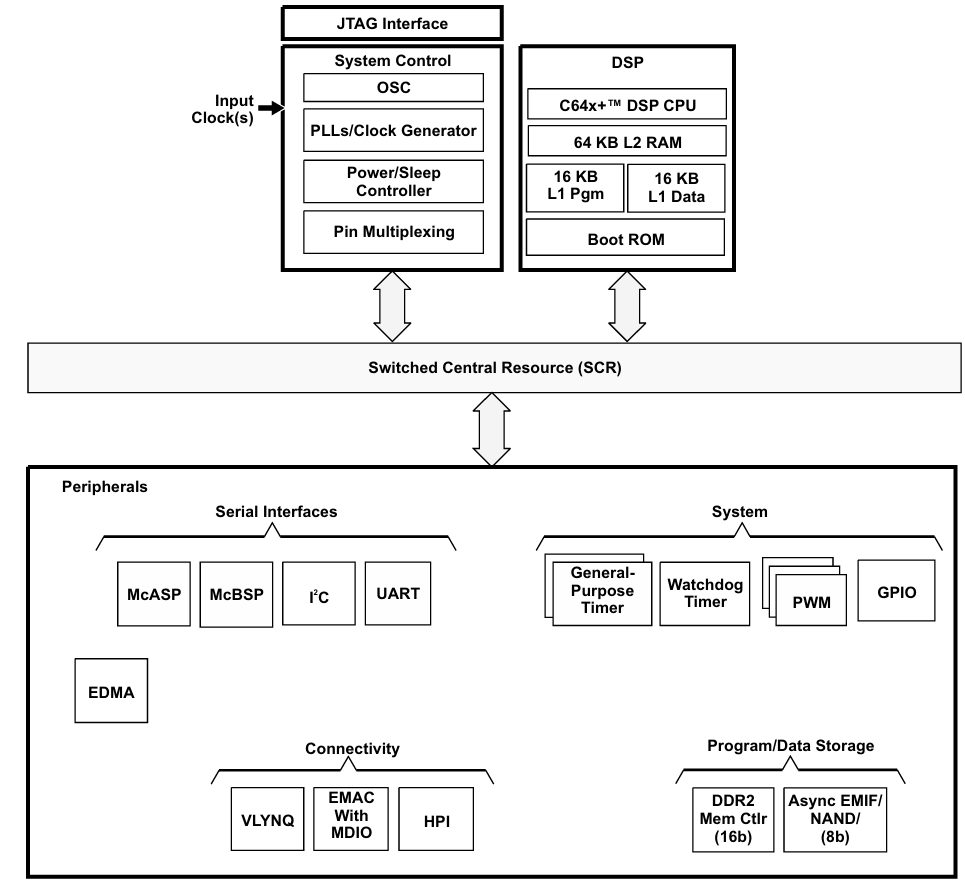
TMS320C6421ZWT5 -funktionella blockdiagrammet belyser hur processorn kombinerar sin kärna, minne och kringutrustning för att arbeta tillsammans.I mitten är C64X+ DSP CPU med L1- och L2 -minne plus start -ROM, vilket säkerställer snabb datatillgång och snabb start.Systemkontrollblock som oscillatorer, PLL: er och krafthantering hanterar klockgenerering, lågeffektlägen och signalrutning.
Alla delar är länkade genom Switched Central Resource (SCR), som fungerar som huvudbussen för dataflöde.Processorn inkluderar seriella gränssnitt som UART, I²C, MCBSP och MCASP, med stöd av en kraftfull EDMA-styrenhet för höghastighetsdataöverföringar.Den har också timers, vakthundfunktioner, PWM och GPIO för allmän systemkontroll.
För anslutning erbjuder enheten Ethernet Mac med MDIO, VLYNQ och ett värdportgränssnitt, vilket gör den flexibel för nätverk och extern kommunikation.Minnesutvidgning stöds genom en DDR2 -minneskontroll och en asynkron EMIF för NAND eller NOR FLASH.Tillsammans visar dessa block hur chipet är byggt för att hantera intensiv bearbetning med effektiva minne och breda anslutningsalternativ.

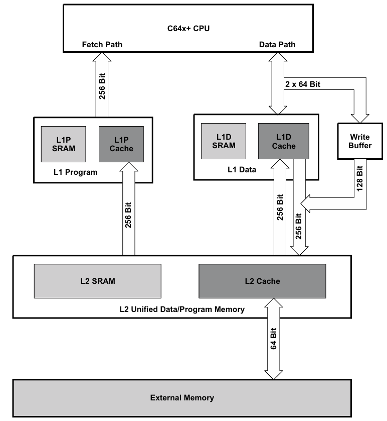
C64X+ Cache Memory Architecture i TMS320C6421ZWT5 är byggd för att ge CPU: s snabb åtkomst till instruktioner och data.Det börjar med L1 -minne, som är uppdelat i två delar: L1 -program (L1P) för instruktioner och L1 -data (L1D) för data.Båda inkluderar SRAM och cache, anslutna till CPU med breda 256-bitars vägar för höghastighetsöverföringar.
Bakom detta fungerar L2 -minnet som ett större, enhetligt utrymme för både data och program.Den har SRAM och cache och ansluter till externt minne genom en 64-bitars buss.En skrivbuffert hjälper till att påskynda datalagring genom att hantera skrivningar i bakgrunden.Denna skiktade design håller ofta använda data nära CPU samtidigt som man ger åtkomst till större externt minne vid behov.

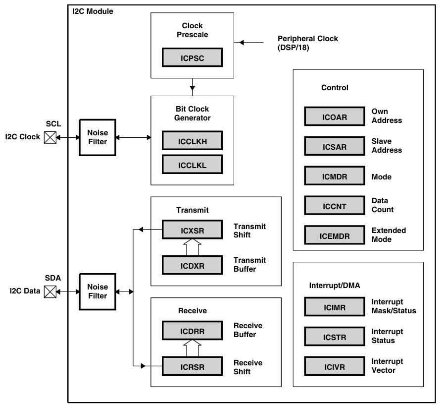
I²C -modulen i TMS320C6421ZWT5 styr kommunikation genom de två I²C -linjerna, SCL för Clock och SDA för data.Båda signalerna passerar genom brusfilter för att hålla överföringen stabil.En klocka Prescaler och Bit Clock Generator ställer in rätt hastighet för kommunikation.
Modulen har separata sökvägar för att skicka och ta emot data.Sändningsblocket har data i en buffert innan du skickar ut den, medan mottagningsblock lagrar inkommande data innan du skickar den till CPU.En styrenhet hanterar adresser, lägen och datalräkningar så att enheten kan fungera som antingen master eller slav.
Det inkluderar också avbrotts- och DMA -stöd, som hjälper till att hantera dataöverföringar automatiskt utan att behöva CPU för att kontrollera ständigt.Detta gör I²C -gränssnittet tillförlitligt och effektivt för att ansluta DSP med externa enheter.
|
Typ |
Parameter |
|
Tillverkare |
Texas instrument |
|
Serie |
TMS320C642X |
|
Förpackning |
Bricka |
|
Delstatus |
Aktiv |
|
Typ |
Fixpunkt |
|
Gränssnitt |
HPI, I2C, MCASP, MCBSP, UART, 10/100 Ethernet Mac |
|
Klockfrekvens |
500 MHz |
|
Icke-flyktigt minne |
ROM (64 kb) |
|
Ram på chip |
96 KB |
|
Spänning - I/O |
1,8 V, 3,3 V |
|
Spänning - kärna |
1,05 V, 1,20 V |
|
Driftstemperatur |
0 ° C ~ 90 ° C (TJ) |
|
Monteringstyp |
Ytfäste |
|
Förpackning / fodral |
361-LFBGA |
|
Leverantörspaket |
361-NFBGA (16 × 16) |
|
Basproduktnummer |
TMS320 |
1. Telekom- och trådlösa system
TMS320C6421ZWT5 används i stor utsträckning i telekominfrastruktur och trådlösa enheter på grund av dess höghastighetssignalbehandlingskraft.Den hanterar uppgifter som modulering, demodulering och kanalkodning, som är bra i basstationer, gateways och bredbandsutrustning.Med sitt integrerade Ethernet MAC- och DDR2 -stöd ger det både anslutning och minnesbandbredd som krävs för kommunikation.
2. Ljud- och signalbehandling
Denna DSP är väl lämpad för ljudsystem som kräver högpresterande beräkning och behandling med låg latens.Det kan köra flerkanals röstkodeks, utföra brusavbrott och hantera ljudeffekter i tid.Gränssnitt som MCBSP och MCASP gör det enkelt att ansluta till ljudutrustning, vilket säkerställer pålitlig och högkvalitativ ljudprestanda.
3. Bild- och videotillämpningar
C6421 kan också tillämpas på avbildning och videor som kräver snabb databehandling.Dess DSP -kärna tillåter den att stödja komprimering, dekomprimering och förbättringsfunktioner för kameror, övervakningssystem och inbäddade synanordningar.Genom att utnyttja dess parallella exekveringsfunktioner möjliggör den effektiv hantering av bild- och videoströmmar.
4. Industriell och inbäddad kontroll
I industri- och kontorsautomation värderas enheten för sin integration av timers, GPIO: er, PWM och DMA, som ger tät systemkontroll.Det används i applikationer som skrivare, skannrar, motorstyrenheter och inbäddade automatiseringsenheter.Dess effektiva effektlägen och höghastighetsbehandling hjälper till att leverera tillförlitlig prestanda samtidigt som energiförbrukningen håller låg.
|
Specifikation |
TMS320C6421ZWT5 |
TMS320C6421ZDU5 |
TMS320C6421ZDU4 |
TMS320C6421ZWTQ5 |
TMS320C6424 |
|
Kärnarkitektur |
C64X+ Velociti.2 VLIW DSP |
C64X+ Velociti.2 VLIW DSP |
C64X+ Velociti.2 VLIW DSP |
C64X+ Velociti.2 VLIW DSP |
C64X+ Velociti.2 VLIW DSP |
|
Klockhastighet |
500 MHz |
500 MHz |
600 MHz |
500 MHz |
Upp till 720 MHz (högre nivå) |
|
Prestanda (MIPS) |
~ 4 000 vid 500 MHz |
~ 4 000 vid 500 MHz |
~ 4 800 vid 600 MHz |
~ 4 000 vid 500 MHz |
Högre, upp till ~ 8 000 MIPS |
|
På chipminnet |
L1p 16 kb, l1d 48 kb, l2 64 kb |
L1p 16 kb, l1d 48 kb, l2 64 kb |
L1p 16 kb, l1d 48 kb, l2 64 kb |
L1p 16 kb, l1d 48 kb, l2 64 kb |
Större L2 -alternativ tillgängliga |
|
Romstorlek |
64 KB start ROM |
64 KB start ROM |
64 KB start ROM |
64 KB start ROM |
64 KB start ROM |
|
Externt minnesstöd |
DDR2 (16-bitars), Emifa (8-bitars) |
DDR2 (16-bitars), Emifa (8-bitars) |
DDR2 (16-bitars), Emifa (8-bitars) |
DDR2 (16-bitars), Emifa (8-bitars) |
DDR2 (16-bitars), Emifa (8-bitars) |
|
Ethernet Mac |
10/100 MB/s med MDIO |
10/100 MB/s med MDIO |
10/100 MB/s med MDIO |
10/100 MB/s med MDIO |
10/100 MB/s med MDIO |
|
Driftstemperatur |
0 ° C till 90 ° C (kommersiellt) |
0 ° C till 90 ° C (kommersiellt) |
0 ° C till 90 ° C (kommersiellt) |
–40 ° C till +125 ° C (industri) |
0 ° C till 90 ° C (kommersiellt) |
|
Paket |
361-stifts NFBGA (16 × 16 mm) |
361-stifts NFBGA (diff. Markering) |
361-stifts NFBGA |
361-stifts NFBGA |
361-stifts NFBGA |
|
Ansökningar |
Telekom, ljud, inbäddad |
Telekom, ljud, inbäddad |
Prestationskritisk telekom |
Industriell/hård miljö |
High-End Telecom & VoIP |
Processen går vanligtvis från att ställa in miljön till att skriva, felsöka och distribuera optimerad DSP -kod.
1. Installera utvecklingsverktyg
Det första steget är att ställa in Code Composer Studio (CCS), TI: s integrerade utvecklingsmiljö.Denna programvara tillhandahåller kompilator, monterare, felsöknings- och projekthanteringsverktyg specifikt utformade för C6000 DSP -familjen.Utan denna installation skulle programmering och testa DSP -hårdvaran inte vara möjlig.
2. Skapa ett nytt projekt
I CCS börjar du med att skapa ett nytt projekt konfigurerat för TMS320C6421 -enheten.Detta inkluderar att välja rätt kompilatoralternativ, länkkommandofiler och startkodmallar.Rätt projektinställning säkerställer att minneskartan och systemresurserna är i linje med hårdvaran.
3. Skriv applikationskoden
Applikationer kan skrivas i C för allmän logik eller i montering för prestationskritiska rutiner.Många drar nytta av C64X+ VLIW -arkitekturen, som gör att flera instruktioner kan utföra parallellt.Att optimera slingor och använda DSP-specifika intrinsics kan förbättra effektiviteten kraftigt.
4. Kompilera och optimera
Efter kodning sammanställs och monteras programmet i maskininstruktioner.TI: s kompilator inkluderar optimeringsfunktioner som programvaruledningar och slingor som rullas upp för att maximera genomströmningen.I detta skede säkerställer programmeraren att exekveringshastighet och minnesanvändning uppfyller applikationskraven.
5. Länk och last
De sammanställda objektfilerna är länkade enligt enhetens minneskarta, placering av kod och data i rätt interna och externa minnesområden.När den är länkad laddas den binära på DSP genom JTAG -felsökaren.Detta förbereder systemet för exekvering på hårdvaran.
6. Debug på hårdvara
Med CCS kan du ställa in brytpunkter, övervaka register och gå igenom instruktioner medan DSP körs.Debugging på hårdvara avslöjar beteende, såsom cacheanvändning, avbrott och dataöverföringar.Denna process säkerställer att applikationsfunktionerna korrekt under faktiska driftsförhållanden.
7. Distribuera och övervaka
När testningen är klar distribueras programmet för fristående exekvering på målsystemet.Du kan fortfarande använda CCS för att övervaka prestanda, finjustera minnesallokering eller minska strömförbrukningen.Detta sista steg bekräftar att DSP körs pålitligt och redo för praktiska applikationer.
• Hög fast punkt DSP-prestanda med VLIW-parallellism
• Uppåtkodkompatibilitet med äldre C6000 -enheter
• Rik uppsättning integrerade kringutrustning minskar externa komponenter
• Stark utvecklingsekosystem med CCS och optimeringsverktyg
• Flexibel cache- och minnesarkitektur för snabbare datahantering
• Ingen dynamisk spänning eller frekvensskalning för strömbesparing
• Högre strömförbrukning jämfört med DSP: er med låg effekt
• saknar inbyggda säkerhetsfunktioner för säker start eller skydd
• Mindre lämpade för bärbara eller batteridrivna applikationer
• Fast prestandaprofil med begränsad anpassningsförmåga för mobil användning

|
Typ |
Parameter |
|
Pakettyp |
NFBGA (361-boll, ZWT) |
|
Bollnätgrupp |
16 × 16 |
|
Räkning |
361 |
|
Total längd (L) |
17,5 mm |
|
Övergripande bredd (W) |
15,45 mm |
|
Kroppsstorlek |
15,90 mm - 16,10 mm |
|
Bollplan |
0,80 mm |
|
Bolldiameter |
0,45 mm - 0,55 mm |
|
Pakethöjd (H) |
1,19 mm - 1,40 mm |
|
Bollhöjd (stand-off) |
0,35 mm - 0,45 mm |
|
Sittplan |
± 0,12 mm |
|
Hörnindex (A1) |
Markerat referenshörn |
TMS320C6421ZWT5 tillverkas av Texas Instruments (TI), ett ledande amerikanskt halvledarföretag med huvudkontor i Dallas, Texas.TI är globalt känt för sina innovationer inom analog och inbäddad bearbetningsteknik och tillhandahåller lösningar som driver ett brett utbud av industrier inklusive telekommunikation, bil, industriell automatisering och konsumentelektronik.Med decennier av expertis när det gäller att utveckla högpresterande digitala signalprocessorer har TI etablerat TMS320-familjen som en hörnsten för signalbehandlingsapplikationer.Företaget stöder också med omfattande designverktyg, mjukvarimiljöer och dokumentation, vilket säkerställer tillförlitlig integration av sina DSP -produkter i avancerade inbäddade system.
TMS320C6421ZWT5 sticker ut för sin starka fastpunktsprestanda, flexibla minnessystem och rik anslutning som passar efterfrågan på applikationer inom kommunikation, ljud, video och automatisering.Dess design gör utvecklingen effektiv genom Code Composer Studio, med verktyg för optimering och felsökning på hårdvara.Processorn ger god skalbarhet, stark integration och brett stöd, även om den handlar av vissa kraftbesparande och säkerhetsfunktioner.Sammantaget erbjuder det en pålitlig balans mellan prestanda, minne och gränssnitt, som stöds av TI: s ekosystem och beprövade C6000 -plattform, vilket gör det till ett praktiskt val för avancerade inbäddade projekt.
Skicka en förfrågan, vi svarar omedelbart.
Ja.Den upprätthåller kompatibilitet uppåt med tidigare C6000 -enheter, vilket hjälper till att återanvända befintliga projekt och förkorta utvecklingscykler.
Medan den konsumerar mer kraft än ultravat-kraft-DSP: er, erbjuder den mycket högre bearbetningsgenomströmning, rikare kringutrustning och snabbare minnesgränssnitt, vilket gör det bättre lämpligt för prestationskrävande mönster.
Ja.Med ett integrerat 10/100 Ethernet MAC och VLYNQ-gränssnitt stöder processorn nätverksanslutning, vilket gör att den kan fungera bra i kommunikations- och datadelningsmiljöer.
Ja.TMS320C6421ZWT5 innehåller en DDR2 SDRAM -styrenhet och EMIF -gränssnitt, vilket gör det möjligt för anslutning till NOR eller NAND -blixt för större lagringskrav.
Dess VLIW -kärna kör upp till åtta instruktioner per cykel, med stöd av EDMA för snabba dataöverföringar, vilket gör det effektivt att hantera flera uppgifter samtidigt.
på 2025/08/28
på 2025/08/26
på 8000/04/19 147781
på 2000/04/19 112062
på 1600/04/19 111352
på 0400/04/19 83818
på 1970/01/1 79630
på 1970/01/1 66998
på 1970/01/1 63124
på 1970/01/1 63057
på 1970/01/1 54097
på 1970/01/1 52208